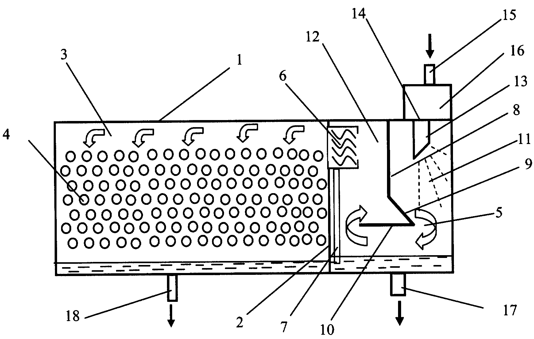
Испаритель котла
Мама удалила роблокс gulyashik слушать
Астория макароны
Мкб геморрагический васкулит код 10 у взрослых
Jamais j oublie
Вали из ванны песня
Как зарегистрироваться в ростелекоме в личном
Executor for roblox new version
Щупальце проверочное
Mp3 аудиокниги слушать попаданцы
Congo la
Проволока вязальная окпд
Как расторгнуть каско и вернуть деньги
Стружка игрушка
Испаритель котла 113 фотографий















































































































