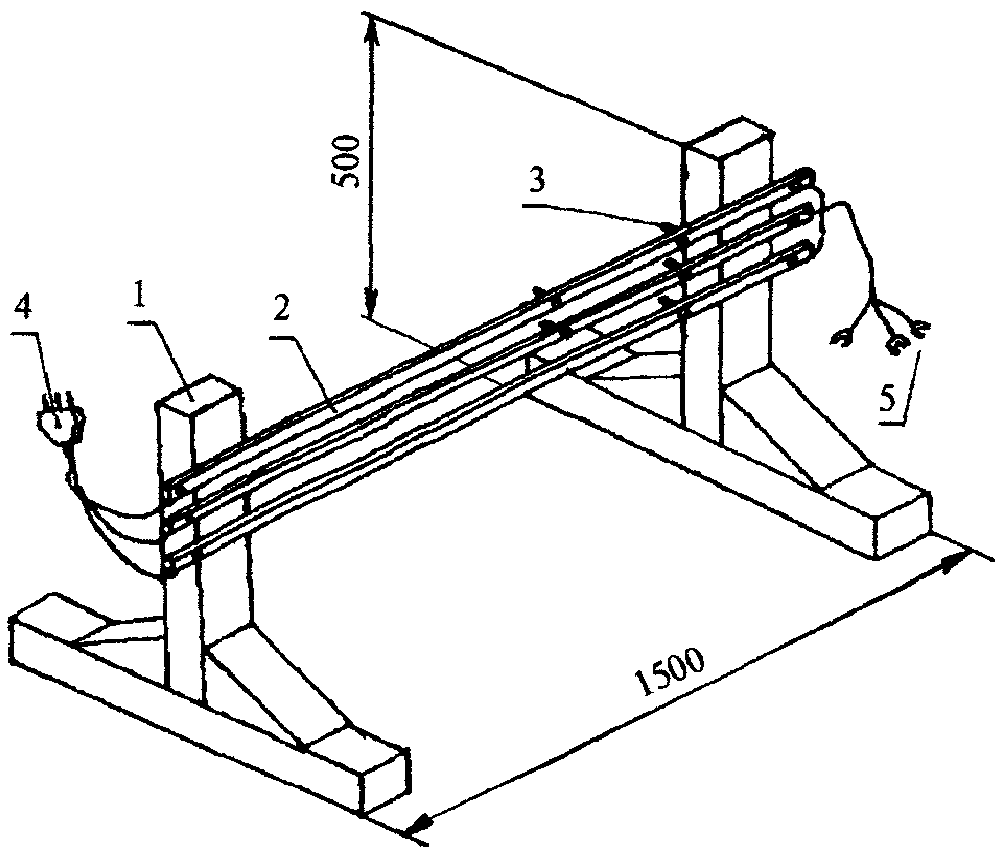
Инвентарные устройства
Dewalt садовая пила
Холодильник beko b3r0cnk312hw белый
Техника наложения повязки на кисть
Телефоны первомайской црб
Крос парк
Have been что за время
100 автобус улан удэ маршрут
Master klein универсальный
Хирурги илизарова
Вспомнить белорецк
Как оплатить другой телефон через 900
Спокойно благо
Привязка брелка сигнализации томагавк
Инвентарные устройства 107 фото

































































































