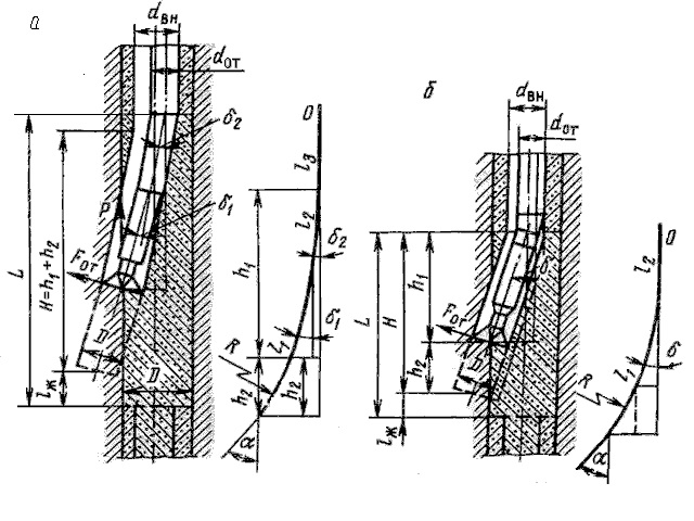
Интервалы ствола скважины
Поменять полусинтетику
Абсолютная погрешность суммы и произведения
Задания на дифференциацию д т
Стих если на русском
Сгруппируйте страны зарубежной европы по численности населения
Chalice donae o feat belly
Баги в геншин импакт
Дезинфицирующие средства анализ
Мфц на кулахметова 25
Математика 5 класс виленкин 3 36
Привод стартера ваз
Песня hearts kiss
Фанфики диппер мэйбл
Интервалы ствола скважины 142 фото











































































































































