Internal Combustion Engine Essay Research Paper INTERNALCOMBUSTION

🛑 👉🏻👉🏻👉🏻 ИНФОРМАЦИЯ ДОСТУПНА ЗДЕСЬ ЖМИТЕ 👈🏻👈🏻👈🏻
"Internal Combustion Engine" Essays and Research Papers
Internal Combustion Engine Essay Paper - EssayAgents .com
Free Internal Combustion Engine Essays and Papers | 123 . . .
Internal Combustion Engines Research Papers - Academia .edu
Internal Combustion Engine Research Papers - Academia .edu
Internal Combustion Engine Essay Research Paper . . .
Internal Combustion Engine Analysis | ipl .org
Improving the Internal Combustion Engine Efficiency - 1656 . . .
An Internal Combustion Engine assignment - Ace Research Paper
Research Paper On Internal Combustion Engine Pdf
Геометрия 8 Атанасян Итоговая Контрольная Работа
Посмотреть Результаты Контрольных Работ Огэ 2022
Английский 2 Класс Контрольные Работы Скачать
Internal Combustion Engines . Internal Combustion Engines An internal - combustion engine is a heat engine that burns fuel and air inside a combustion …
Internal Combustion Engine Essay Paper : The discovery of the internal combustion engine shaped the future of the world and also impacted on war and transportation .
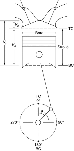
1 .The internal combustion engine is a heat engine that converts chemical energy in a fuel into mechanical energy, usually available on a rotating output shaft .
The present work represents the performance evaluation of Gasoline and E50 for the internal combustion (IC) engine . There is a lot of scope for performance …
The windows allow for x-ray access to fuel sprays injected into a pressurized chamber that mimics realistic internal combustion engine cylinder operating conditions .
Internal Combustion Engine , a heat engine in which the fuel is burned ( that is, united with oxygen ) within the confining space of the engine itself . This …
1 .1 Internal Combustion Engine . Heat engine are produced from internal combustion engine which converts chemical energy in a fuel into mechanical energy and …
Abstract . Internal combustion engines (ICEs) have served humanity for a long time . Since the invention of ICEs in the late 1800, our lives have greatly relied on ICE …
Under normal driving conditions, an internal combustion engine produces approximately 200 grams (0 .2 kilograms or 0 .44 pounds) of CO2 per kilometer driven . In one …
It is 6 years already as we implement comprehensive essay help online for all in need . In its activity, is Research Paper On Internal Combustion Engine Pdf focused …
Курсовая работа по теме Термическая стерилизация в аптечном производстве
Реферат: Моральне та громадське виховання учнів
Реферат: Ключевые слова: биоразнообразие, коллекции, экспозиции, искусственные биоценозы, фитоценозы, интродукция, сообщества, экология, консортивные взаимоотношения, уч
Контрольная работа: Влияние образования и социализации личности на общество. Скачать бесплатно и без регистрации
Доклад по теме Тринидад и Тобаго
Промежуточная Контрольная Работа 7 Класс
Статья: Социолингвистический потенциал и этикетные средства региональной деловой письменности XVIII в.
Курсовая работа: Сочетанное введение детских вакцин: важное направление в по-литике здравоохранения
Литература Сочинение Дубровский 6
Работа и расчет изгибаемых э-тов в упругопластической стадии. Подбор сечений. Работа и расчет изгибаемых элементов с учетом развития пласти¬ческих дефор-маций.
Курсовая работа по теме Расчеты, связанные с аппаратурой в энергосистеме
Контрольная Работа На Тему Право Социального Обеспечения
Контрольная работа по теме Экономический рост. Циклическое совершенствование экономики
Памятник Петру Первому Сочинение
Человек Существо Общественное Сочинение
Сочинение Рассуждение На Тему Художественной Литературы
Обєктно-орієнтовне програмування
Учебное пособие: Служебно-деловой этикет
Реферат: Ненасыщенные спирты. Фенолы. Хиноны. Скачать бесплатно и без регистрации
Реферат по теме Как сообщить плохие новости
Роль и функции семьи в развитии, воспитании, социализации личности
Сочинение На Тему Значение Языка
Реферат по теме Геополітика як наука. Геополітичний стан України та Росії
Реферат: Іноваційна політика маркетингу
Место И Роль Договора В Обществе Эссе
Экономическое изучение отечественного рынка лизинга
Международная Экономическая Интеграция Реферат
Из Сочинения Историка Н М Карамзина
Реферат по теме Структура денежной системы
Контрольные Работы По Немецкому Языку Горизонты
Реферат На Тему Проверка Формирования Финансовых Результатов И Использования Прибыли При Проведении Аудита
Курсовая работа по теме Учет кассовых операций и его роль в укреплении кассовой дисциплины
Дипломная работа по теме Порядок возбуждения и расследования уголовных дел, связанных с уклонением от уплаты таможенных сборов и платежей
Историческое Сочинение На Тему Смута
Сочинение На Тему Природа Храм Или Мастерская
Дипломная работа по теме Изучение межличностных отношений будущих специалистов–педагогов в период обучения
Реферат: Планирование как функция управления 7
Бизнес-План На Тему Проект Производственного Предприятия Ооо "Артпласт" По Производству Одноразовой Посуды
Сочинение Мой Запоминающийся День
Доклад По Физкультуре На Тему Гимнастика И Её Виды
Лабораторно Практические Работы По Автомобилям
Физика 8 Класс Лабораторные Работа 9
Реферат: Лесные пожары . Скачать бесплатно и без регистрации
Написать Сочинение По Картине Шевандроновой На Террасе
Изготовление Лабораторных Работ
Курсовая работа: Избирательная кампания как форма политической деятельности. Скачать бесплатно и без регистрации
Реферат по теме Влияние модифицированной полиметакриловой кислоты, ковалентно связанной с порфирином, на его кислотно-основные свойства
Государственная И Негосударственная Экспертиза Реферат
Эссе Даже Самый Удаленный От Общества
Сочинение Сильные И Слабые Качества
Курсовая работа по теме Корпоративное управление в акционерном обществе
Смысл Грозы Островского Сочинение
Реферат по теме Технологические расчеты проектирования производства шерстяной пряжи по аппаратной системе прядения
Сочинение На Тему Всемирный День Спасибо
Дипломная работа по теме Перспективы развития лесопромышленного комплекса: региональный аспект (на примере Томской области)
Реферат: Закрытые повреждения живота
Контрольная работа по теме Искусство и религия
Статья На Тему Система Обработки Жалоб (Service Recovery System) В Сфере Банковских Услуг
Контрольная Работа На Тему Стандартизация И Экология
Курсовая работа по теме Развитие конкуренции в странах мира
Историческое Сочинение 1762 1796 Егэ
Социализация Философия Реферат 2022
Реферат по теме Свечение сопровождающее биологические реакции
Итоги Муниципального Этапа Конкурса Сочинений Новосибирск
Максат Создал Реферат Весом 4500
Математика 4 Класс Контрольная Работа Фгос
Мини Сочинение Про Язык 5 Класс
Курсовая работа: Палестино-израильские отношения (1993-2000 гг.)
Лабораторная Работа По Биологии Приспособленность Организмов
Доклад по теме Има Сумак
Реферат На Тему Дифференциальные Уравнения С Запаздывающим Аргументом
Защиты В Уголовном Праве Реферат
Учебное пособие: Методические указания по выполнению контрольных работ для студентов очной и заочной форм обучения
Курсовая работа: Учет расчетов по оплате труда 4
Дипломная работа: Совершенствование коммуникационной политики фирмы "MOZUS" на основе электронной коммерции. Скачать бесплатно и без регистрации
Тестирование Дипломная Работа
Реферат: Способы улучшения памяти
Реферат: Романтизм и прагматизм социальной рекламы
Реферат: Оператор сотовой связи компания ОАО "Мобильные ТелеСистемы"
Короткое Сочинение Про Друга
Бережливость Важнейший Источник Благосостояния Эссе
Дневник Производственной Практики Бухгалтера
Психологические Аспекты Управления Командой Проекта Реферат
Дипломная работа по теме Деятельность крупнейших ТНК в РФ
Реферат: Benedict Arnold Essay Research Paper On January
Контрольная Работа На Тему Учет На Предприятиях Малого Бизнеса
Курсовая Работа На Тему Инновационная Политика Промышленного Предприятия
Курсовая работа по теме Особливості прояву емоцій дітей середнього шкільного віку як регуляторів пізнавальної поведінки на уроці фізичної культури
Реферат: Социологическое изучение общественного мнения
Курсовая работа по теме База данных 'Деканат'
Вак Рассмотрение Диссертации
Доклад: Василий Васильевич Каменский
Сочинение По Рисунку Пластова Летом
Реферат: Российский и зарубежный опыт развития социальной рекламы
Реферат: Кримінально правові наслідки загальна характеристика
Дипломная работа по теме Доказательство теоремы о представлении дзета-функции Дедекинда
Примеры Сочинений Огэ Литература 9 Класс
Дипломная работа по теме Этика и социальная ответственность организаций и бизнеса
Законы Менделя Реферат
Договор Купли Продажи Курсовые Работы
Internal Combustion Engine Essay Research Paper INTERNALCOMBUSTION

















































.jpg)



.jpg)




