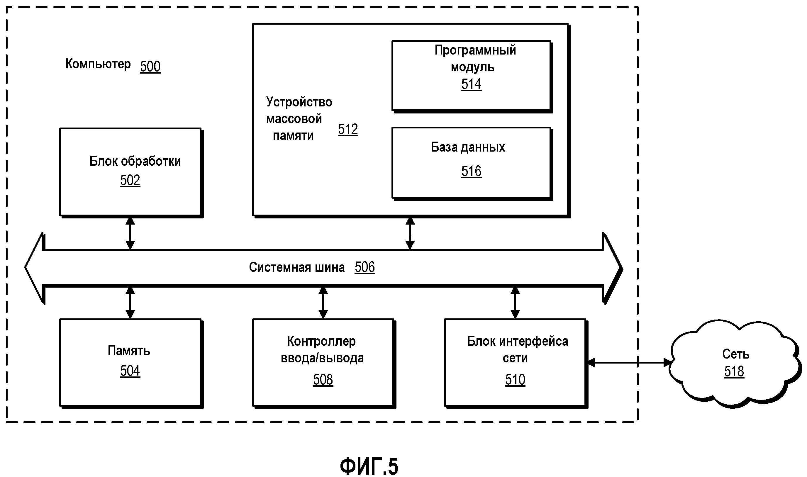
Интерфейс сетевых модулей
Геометрия 7 класс номер 4 стр 26
Воспитатель о своей работе в детском саду
В состав аптечки индивидуальной входят
Перевести деньги в другой пенсионный фонд
Сколько процентов налог на производство
Как удалить учетную запись в вайбере
Саранск ул пионерская
Рио икс салон
Трапка на фт
Кофта новорожденному для начинающих
Зеленый угол сверху
Да это я точно знаю
Iq тупого человека
Интерфейс сетевых модулей 114 фото
















































































































