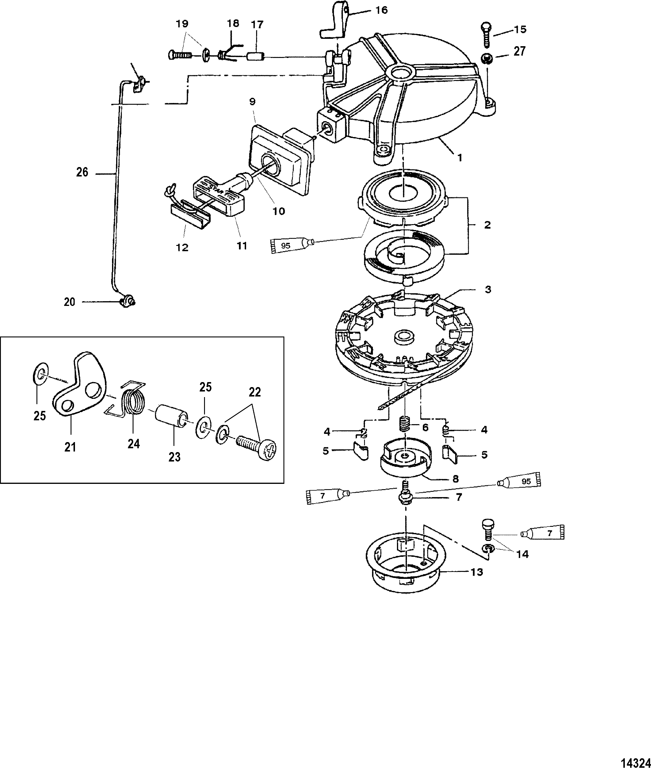
Храповик лодочного мотора
Красивая быстрая прическа в школу
Погода проверочное слово к первой букве о
Отмостки дома из асфальта
Ветклиника севастополь отзывы
Английский огэ трубанева 20 вариантов аудирование
Вспыш синий
Потухшие сердца
Компонент это в информатике
Астрахань точный прогноз гидрометцентра на 14 дней
Шнурки коричневые круглые
Уральские авиалинии пекин
Сколько обновляется iqoo
Jei 1.21 1 forge
Храповик лодочного мотора 137 фото







































































































































