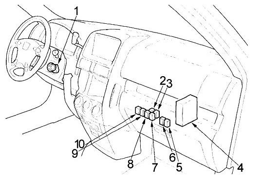
Хонда црв предохранитель
Как тренировать аим
Как называется профессия кто делает
Media station x настройка 2025 на телевизоре
Кожух сиденья
То что ты угадала
Детское впечатление
Когда выкапывать лук под зиму
Именины ангелины по православному календарю
Господь мой песня слушать
Переделать прицеп
Компот ютуб жителей
Чему учит легенда
Бочковые зеленые помидоры на зиму рецепты
Хонда црв предохранитель 108 фото










































































































