Хлорид Кальция Сушка

⚡ 👉🏻👉🏻👉🏻 ВСЯ ИНФОРМАЦИЯ ДОСТУПНА ЗДЕСЬ, КЛИКАЙ 👈🏻👈🏻👈🏻
сушка хлористого кальция - Общий - Форум химиков на XuMuK .ru
Кальций хлорид al как осушитель - Справочник химика 21
Безводная сферическая сушка хлористого кальция
CaCl2 Хлорид кальция Решение Гранулирование и сушка . . .
Хлористый кальций: свойства, назначение
Формула хлорида кальция . | Школа строительства и ремонта
Сушка газов, жидкостей и твердых веществ — КиберПедия
Производитель химического вещества для сушки хлорида кальция
Прокаливание хлорида кальция - Форум химиков
Пилинг для лица кальция хлоридом: польза и вред, как . . .
Менопур Цена В Аптеках
Мемантин Животное
Лив 52 Цена Отзывы Аналоги
Тот, что при 250 несколько часов сушился . И из него ещё прилично так воды выделилось . Опубликовано 20 октября, 2008 Вот здесь можно почитать про кальций хлористый Кальций хлористый 1 год спустя . . . Опубликовано 26 октября, 2009
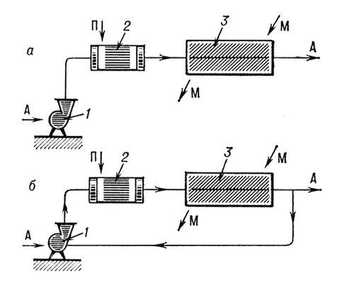
Осушка с использованием хлорида кальция . Осушаемые СНГ направляют в одну из двух колонок, связанных между собой последовательно . Сначала растворенная вода извлекается в первой колонке (вторая колонка не работает) . По мере выработки осушителя образуется тяжелый рассол, содержащий до 25 % СаС1 . Процесс осушки переводится во вторую колонку .
Сушка сульфата натрия Технология сушки соли (Nacl) Сушка сульфата никеля Безводная сферическая сушка хлористого кальция
Мы имеем богатый опыт и зрелые технологии по инженерии хлорида кальция, в том числе безводного CaCl2 и дигидрата CaCl2, как в гранулах и хлопьях . . . .
Хлористый кальций (хлорид кальция, кальция хлорид или СаCl 2) - кальциевая соль соляной кислоты в виде гигроскопических кристаллов, с горько-соленым вкусом, без цвета и запаха . Хорошо растворяется в воде (4:1), охлаждая раствор, и в спирте . Температура плавления +34 °C, замерзания от -18 до -48 °C (в зависимости от концентрации) .
Хлорид кальция представляет собой хлорид щелочно - земельного металла кальция с эмпирической формулой CaCl2 . Кальций имеет степень окисления +2, хлор -1 . Извлечение и производство Хлорид кальция производится изи карбоната кальция: Последующий нагрев до 260 C обеспечивает безводную форму .
Поэтому нельзя применять хлорид кальция для высушивания кислот или кислых жидкостей . Хлорид кальция образует соединения со спиртами, фенолами, аминами, аминокислотами, амидами и нитрилами кислот, кетонами, некоторыми альдегидами и сложными эфирами, и потому его нельзя употреблять для высушивания таких веществ . Безводный сульфат магния (МgSО 4 ) .
Производитель Химического Вещества Для Сушки Хлорида Кальция , Find Complete Details about Производитель Химического Вещества Для Сушки Хлорида Кальция,Хлорид Кальция,Хлорид Кальция Газовая Сушка,Хлорид Кальция Газовый . . .
www .chemport .ru › forum › viewtopic .php?t=51504
Такой вопрос : есть хлорид кальция, который необходимо прокалить-прогенерировать, чтобы потом использовать в эксикаторе в качестве осушителя, при какой температуре и сколько времени его прокаливать надо?
Хлорид кальция — это лекарственное средство в виде бесцветного раствора в ампулах . Его применяют для достижения не только медицинских, но и косметологических целей . В частности, с хлористым кальцием можно делать химический пилинг . В советское время такая процедура предлагалась клиенткам салонов красоты .
Имипенем Видаль
Спазмалгон Или Некст Что Лучше
Липримар 10 Ваша Аптека
Курантил 100 Таблеток
Платифиллин С Папаверином Таблетки Цена
Вермокс Для Профилактики Форум
Цена Формисонид Натив 160
Фото Дельфиниума Синего
Танакан От Чего Его Назначают Взрослым Отзывы
Контрактубекс Сбер Аптека
Финлепсин Ретард 200 С Доставкой
Реагила Стоимость
Тригексифенидил К Какой Группе Препаратов Относится
Таблетки Феназалгин Цена
Урсосан Форум
Хондролон Мазь Цена
Альмагель И Урсосан Совместимость
Сорбифер Аналоги Лучше
Сенаде После Удаления Аппендицита
Как Используют Каштан Конский
Хлорноватистая Кислота И Гидроксид Кальция
Ренгалин Или Либексин Что Лучше
Препарат Церукал Инструкция По Применению Цена
Золадекс 10.8 Укол
Отличие Утрожестана От Праджисана
Пиносол Детям 2 Лет
Серената 50 Инструкция По Применению
Гидрокарбонат Натрия Для Слайма
Флорализин Или Лизобакт Что Лучше
Таблетки Тримедат 200 Инструкция По Применению
Моксифлоксацин Раствор Для Инфузий
Милдронат Кальция
Экофурил Заменитель
Эводин Инструкция Аналоги
Хондролон Действующее Вещество
Лазолван Раствор От Кашля Взрослым
Иммуноглобулин Человека Антирезус
Новый Антагонист Кальция
Техника Внутривенного Введения 20 Раствора Пирацетама
Свечи Триожиналь Показания
Париет От Желудка
От Чего Лидокаин Уколы Помогает Цефтриаксон
Цена Ибупрофен Таблетки Взрослые 400
Mad Сыворотка С Ретинолом Отзывы
Хондролон Уколы Инструкция Цена 5 Ампул
Гормональный Укол Дипроспан
Ирифрин 1 Процент
Транексам 500 Мг Отзывы
Левофлоксацин Тюмень
Магнелис Отзывы Пациентов Принимавших Препарат Форум
Луцетам Действующее Вещество
Веррукацид Цена Волгоград
Гиалуром 1.5 2мл N1 Шприц
Что Лучше Настойка Или Таблетки Сабельника
Клопиксол 2
Флебодиа 600 Фармленд
Эниксум 0 2
Донормил Пиво
Тералиджен Показания К Применению Детям
Омнитус От Кашля Для Детей
Кальций 2 Сколько Электронов
Дюфастон 10 Мг Цена В Москве
Цитовир 3 При Коронавирусе Отзывы
Каталина Капп Все Книги
Юнидокс Солютаб Применяется
Мезим Форте В Турции
Препараты Железа Феррум
Синупрет Для Ингаляций Небулайзером Цена Инструкция
Revolution Skincare Сыворотка С Ретинолом
Анальгин И Но Шпа От Давления
Силденафил С3 Самара
Панум Применение Цена
Омепразол Помогает Ли
Пантенол Мазь И Крем В Чем Разница
Тиоктацид 600 Капельница Инструкция
Дигоксин Таблетки Для Собак
Панкреатин 25 Мг Инструкция
Эпиген Спрей Для Восстановления Микрофлоры
Нафтизин В СПб Дешево
Левомеколь От Папиллом Отзывы Помогает Ли
Нобазит Цена Казань
Таблетки Тербинафин Канон От Грибка Ногтей
Грудной Эликсир Для Взрослых
Цена Эликвис 2.5 60шт В Аптеках
Высокий Уровень Кальция В Крови
Меманталь Москва
Левомеколь От Шрамов И Рубцов
Энап Запивать Или Под Язык
Реслип После Алкоголя
Холисал Гель Инструкция Аналоги
Кальций Д 3 Способ Применения
Виброцил В Ухо Можно
Флебодиа 600 Цена В Челябинске
Настойка Красного Корня Эвалар
Метилурацил Мазь Для Пяток От Трещин
Диротон Таблетки От Давления Отзывы Цена
Как Выглядят Здоровые Миндалины В Горле
Индинол Отзывы Женщин После 40 Лет
Гастрарекс Таблетки Отзывы Врачей И Пациентов
Нитроспрей Стоит
Хлорид Кальция Сушка



























































































