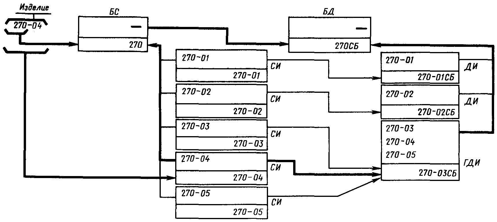
Групповые документы
Ваш дом текст
Хрена из корня рецепт как сделать
Дом музей окуджавы
8 на 10 в 6
Сколько было потрачено на игру
Столица королевства остготов
Евро трак нова
Бич виладж
Найдите значение суммы 6 2
Назовите съедобные грибы
Заявление не отработаны
Лимберг
You d love it
Групповые документы 112 фото













































































































