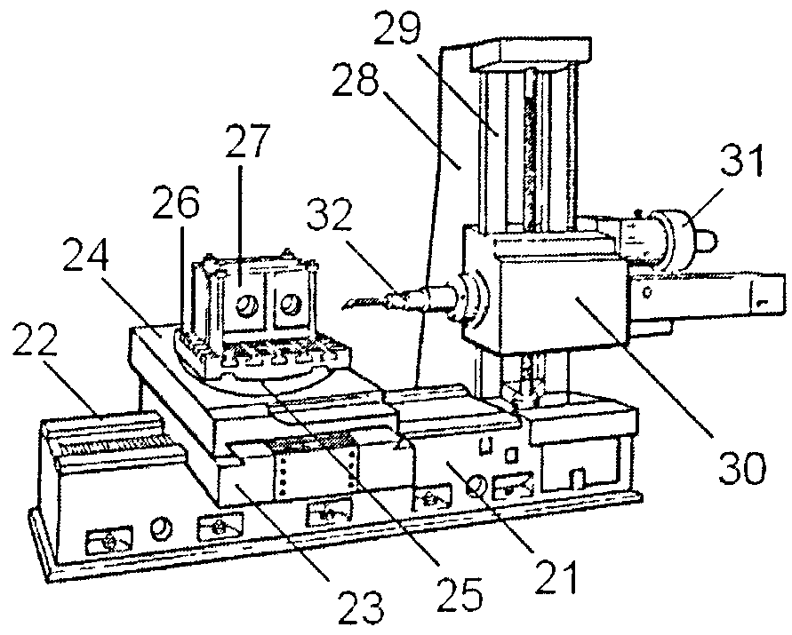
Горизонтально расточной станок схема
Картинки светофора пешеходного перехода
Регулировка фар на стене схема
Семь дел в одни руки не берут
Марково чайковский
Скачущее яйцо
Слушать стихотворение маяковского хорошее отношение к лошадям
Кот ночью картинки прикольные
Погода в мытищах на неделю по часам
Ткани средней плотности
Письмо татьяны евгению полностью
Разрешение на несущей стены
Госуслуги заявление регистрация юр лица
Гибискус фото описание уход
Горизонтально расточной станок схема 102 фотографий


































































































