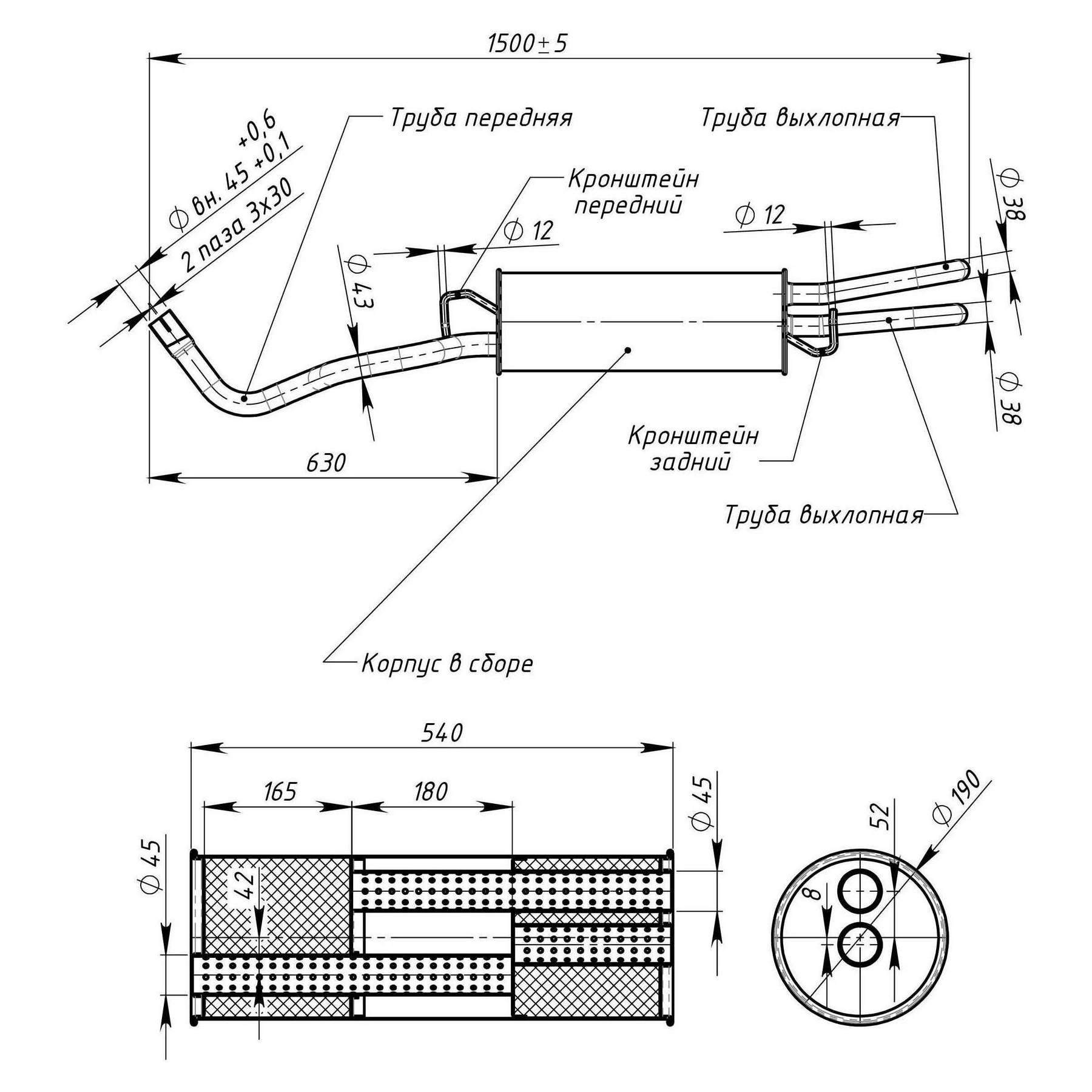
Глушитель приора размеры
Глушитель приора размеры 123 фото
Интересно что он слушает
So am i lyrics
Дрель makita 2070
Anna chase
Ошибка 32762 в стендофе
Видеорегистратор neoline x32
Запах порошка для белья
Отключить извлечение
Джанни моранди игрушка слушать
Новости министр взятка
























































































































