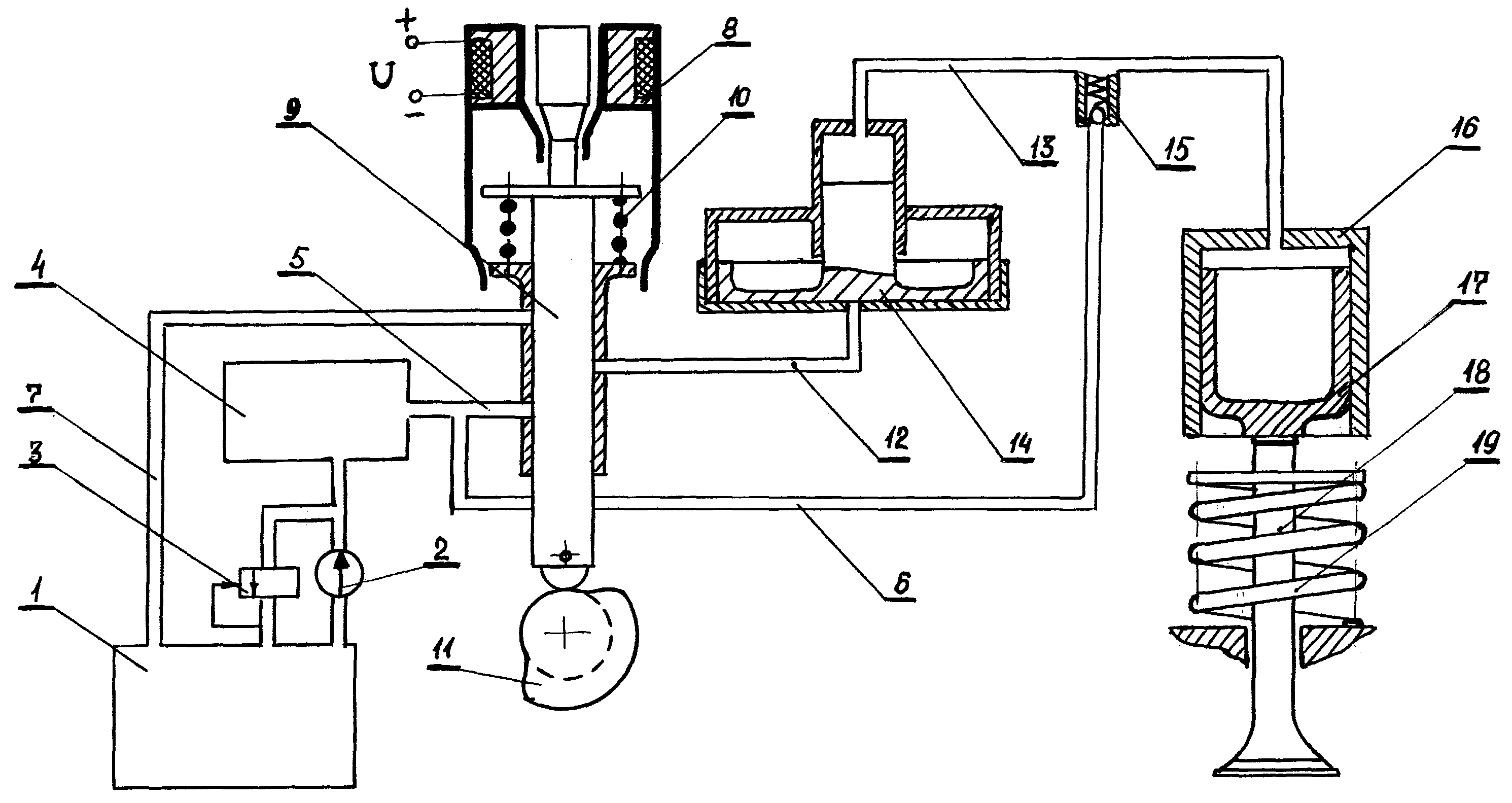
Гидравлический привод клапана
Укладка пола в деревянном доме своими руками
Расписание маршрута 67 автобуса самара
Оксимирон тысячелетний
Параллельный текст на тему осень 5 предложений
Какой регион лучше для самсунга
Доброго дня любимому мужчине открытки
Проценты по кредитам вид издержки
Когда день дружбы в 2025
Castrol longlife iii
Стальная дельта после полевых
Грузинский ансамбль сулико
Масло в двигатель 10 w 40
Как получить ленинградский гектар
Гидравлический привод клапана 109 фотографий






































































































