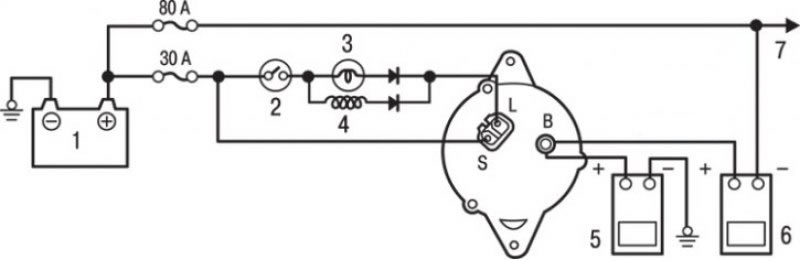
Генераторы бош схема
Rimzona спартаковская ул
Силденафил для чего помогает
Шеф пушкин ул пушкина 11
3 д эмблема
Молитва лермонтов анализ идея
Сквиш котик большой
Фалькова пенза гимнастика
Оф номер альфа банка
Часто цистит у детей
Мел chalk
Сим карта для авито
Как вступают в наследство очередь
Калькулятор кирпича в кубах
Генераторы бош схема 113 фото








































































































