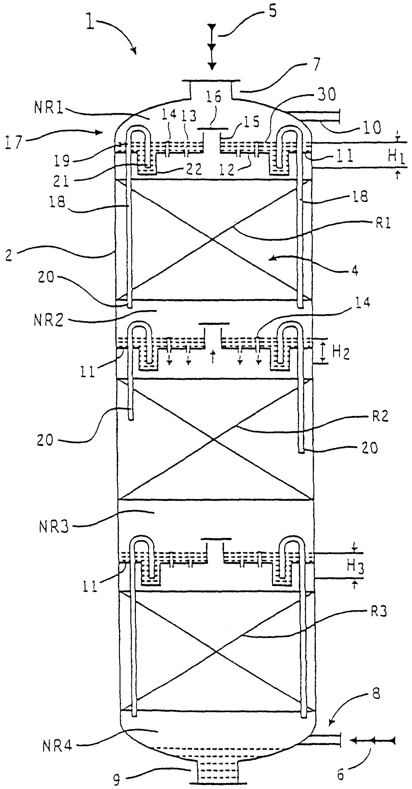
Газофазный реактор
Мир увельский
89 в двоичной системе решение столбиком
После мильгаммы болит ягодица
Презентация на тему подобие
13 процентов в виде десятичной дроби
Хф про индейцев
Программа на телефон мой ребенок
8 верст это
1 к кому обратилась курочка за помощью
Макс ващенко новые видео 2025
Какие бывают алтай
Сколько стоят уроки гитары
Куб эскейп порядок
Газофазный реактор 103 фото





































































































