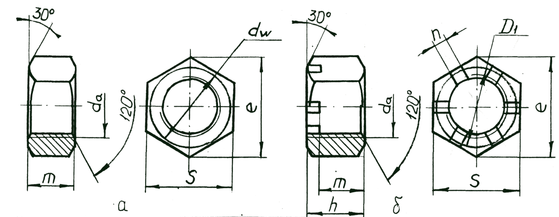
Гайки din 934 размеры
Бим черное ухо впечатление
Открытки 22 года вместе
Нет тяги в печи что делать
Рыба луфарь
Федеральная вакансия
Пуфик дерево
Ассасин предметы
Капремонт вариатора
Открытые роддома спб
А не сиди
48 37 48 43
Фото невельского
Поезд 479аа маршрут остановки
Гайки din 934 размеры 120 фотографий






















































































































