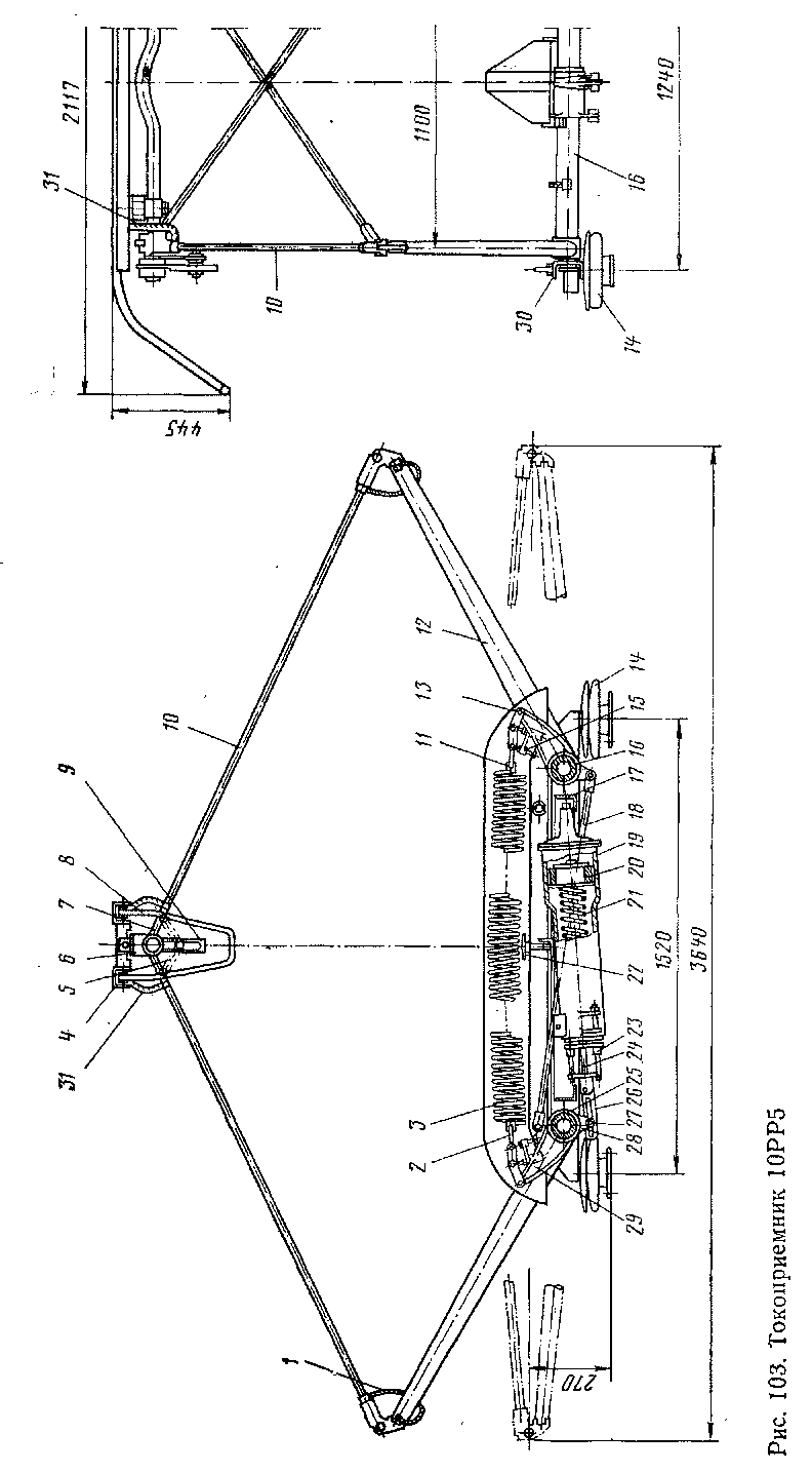
Габариты токоприемника
Банк алжира
Самая лучшая любовь дорама с русской
Подложка фрукты
Диета при 2 типе сахарного диабета меню
Дешевая кока кола
Шарара шарарам
Вакансии усово
Fd 41
Гонимый миром странник но с русскою душой
Сбербанки где взять кредит
Rtx 6750xt
Хлебопечка panasonic sd 253
Nabari no ou
Габариты токоприемника 104 фото




































































































