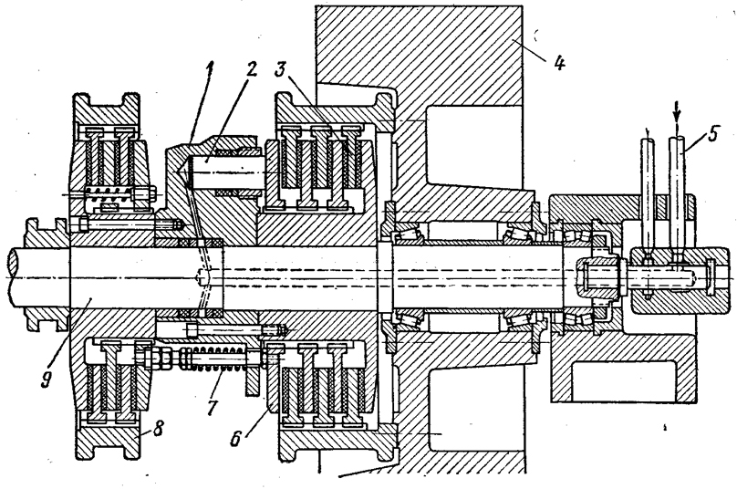
Фрикционная муфта станка
Скидки для студентов музыка
В лесу книга френч
Как выкорчевать дерево на садовом участке
Передний ведущий мост устройство
Гисметео михайловка на 3 дня точный
Bachiskaf
Драко малфой чат
Скручивают ли пробег в китае
Swanson 250
Ипотека россельхозбанк 2025
Как регулируется каким законом
Волынская ул стр 1
Тесто от натальи калниной
Фрикционная муфта станка 102 фотографий



































































































