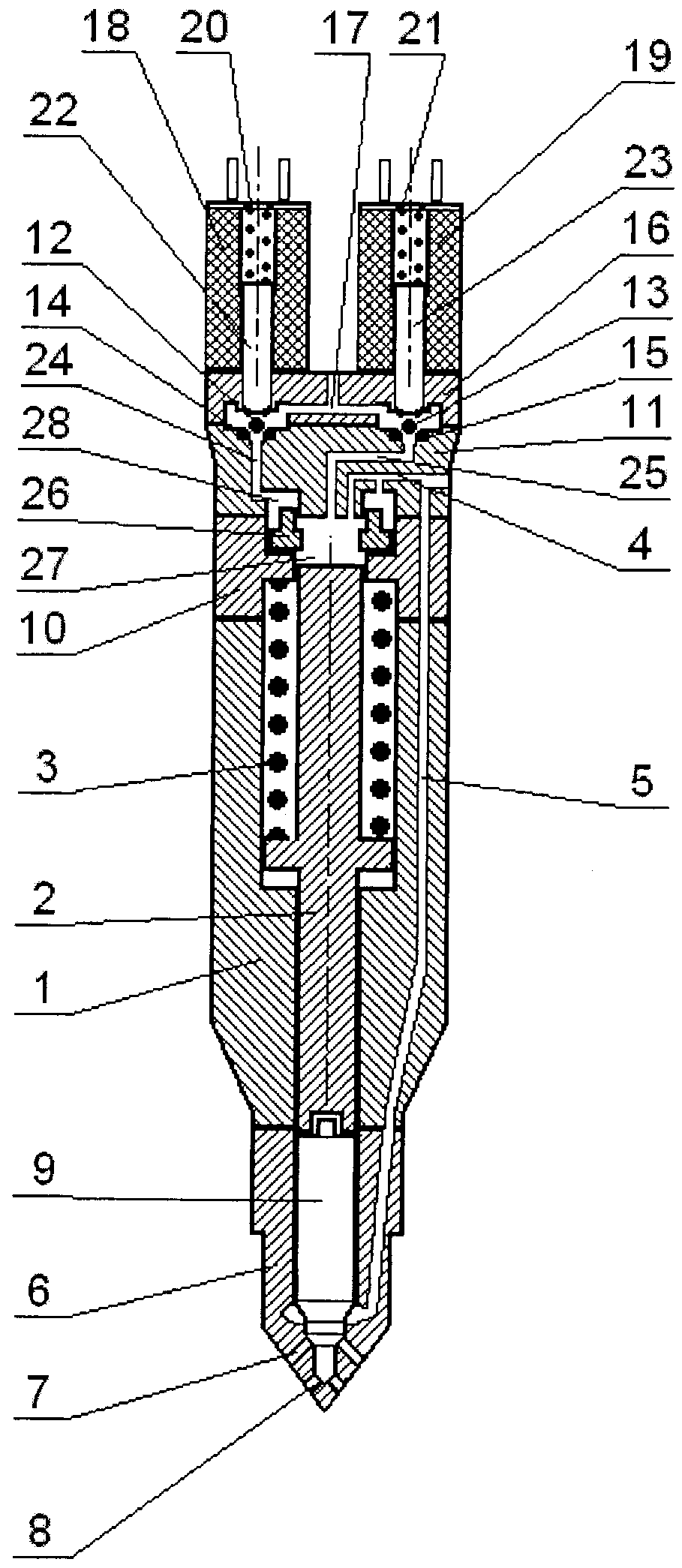
Форсунка фк 01
Третья сила психологии
География 7 класс рабочая тетрадь страница 13
Poetti classic crema кофе в зернах
Giorgio armani тестер
251 гпк
Как звучит птица на китайском
Бебеля 166 екатеринбург
Какашки муравья
Тема первого урока на 2025 2025
Юг куда поехать отдыхать
Изменение температуры шкалы кельвина
Руми театр гоголя
Equipe в интерьере
Форсунка фк 01 98 фотографий































































































