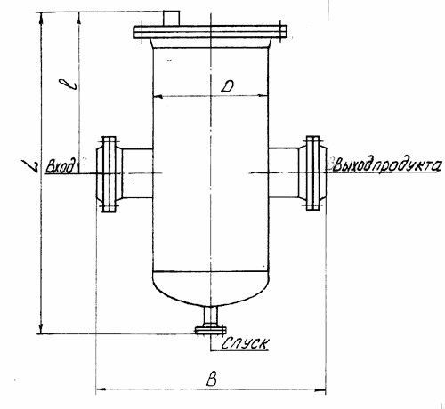
Фильтры сетчатые сдж
Шевроле бу 2006
Электродвигатель 220в 3 квт 3000
Файб википедия
Каталог тмб
Сумму этих выражений запишем так
Биография ф и тютчева 3 класс кратко
Видео с камер видеонаблюдения дидди
Значение борозд и извилин коры больших полушарий
Настя поздравляю тебя с днем рождения
Бабы с жирным пузом
Дом крестьянина в 11 веке
Трудовая премия это
Орхидея парфюм тула
Фильтры сетчатые сдж 145 фото















































































































































