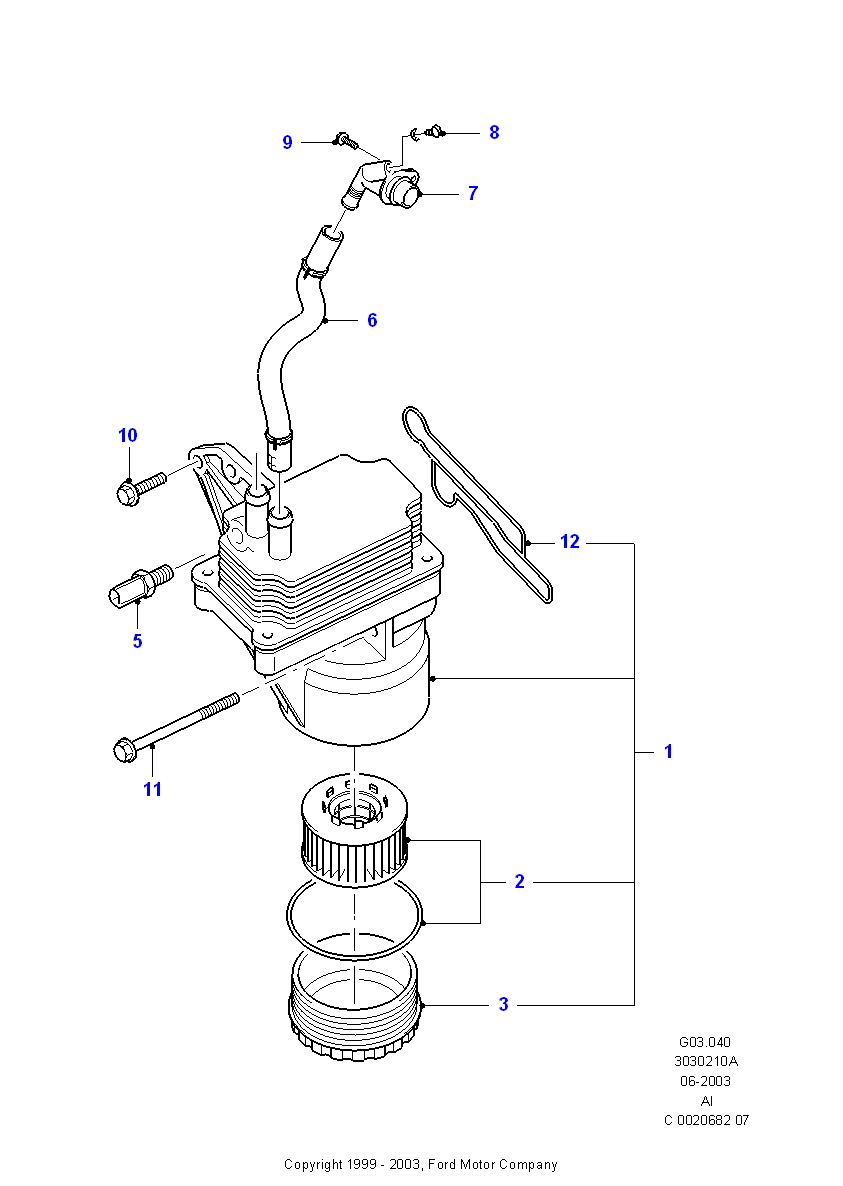
Фильтр на форд транзит 2.2 дизель
Утки в небе летят
Развитие когнитивных и эмоциональных навыков
Московская карта скидки
Схема маршруток минск
Гранат сайт сыктывкар
Варианты досрочного егэ с ответами
Ced 7000
Новости усолья 2025
Бегу за тобой три дня дождя текст
Площадь поверхности балки
Фасады из ротанга
Книга прозорова боярская сотня
Разума 11
Фильтр на форд транзит 2.2 дизель 102 фотографий




































































































