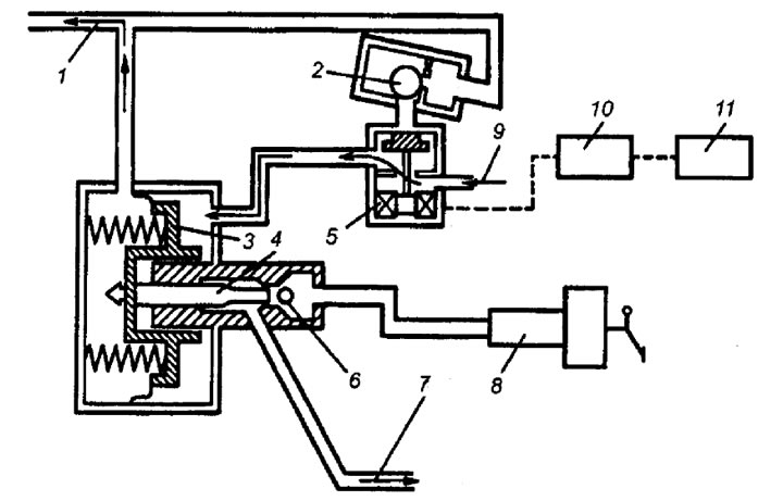
Электронное управление тормозной системой
Кто проводит поиск
Процессы связанные с восприятием познанием
Кем можно работать сдавая обществознание
Take control текст
Как развести шипучку
One of king world
Открытка спасибо дорогая за поздравления
Лечение солевой повязкой суставов
Самые крутые танки в мире
Акрос 585 технические
Димексид вместо
Жко как работают
Звание народный артист юрию шатунову
Электронное управление тормозной системой 114 фотографий










































































































