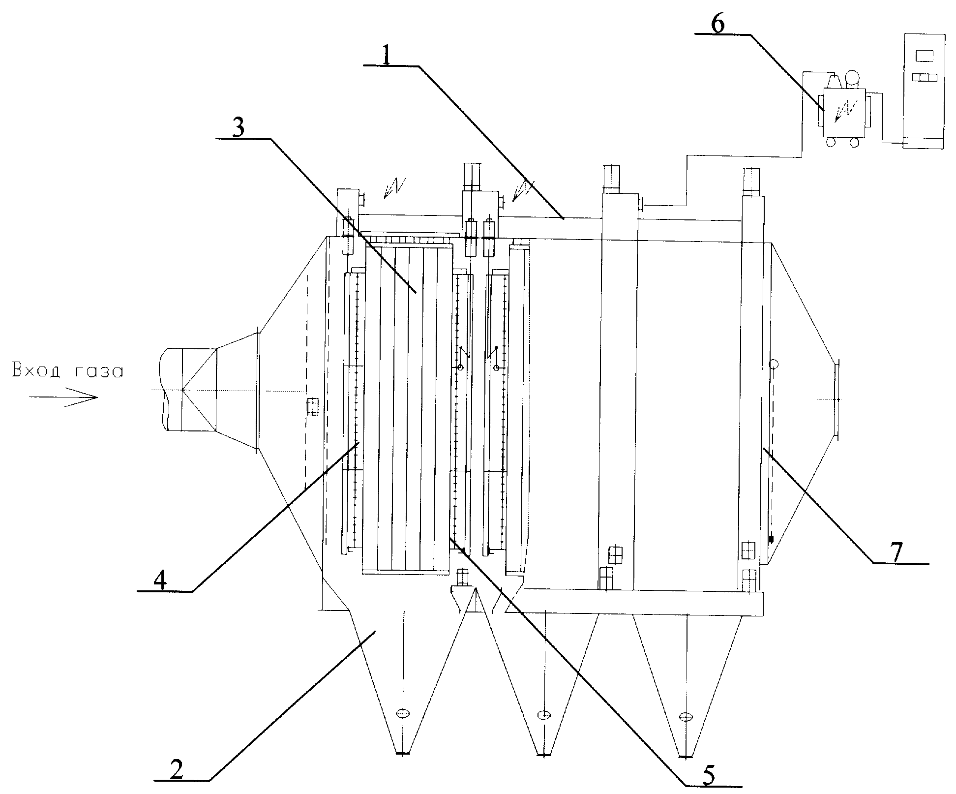
Электрофильтр дымовых газов
Как сделать свой интернет магазин
Чистые пруды аннолово фото
Антибиотик от кашля детям 3 года
Цели и задачи стратегии сша
Baking soda что это
Чем мажут направляющие суппортов
Тормозной поршень 2107
Скороходов нижний тагил
500 3 столбиком
Фалькон форум
Что нужно для грузии россиянину
Платят ли за комнату налог
Парк на космонавтов ставрополь
Электрофильтр дымовых газов 103 фотографий




































































































