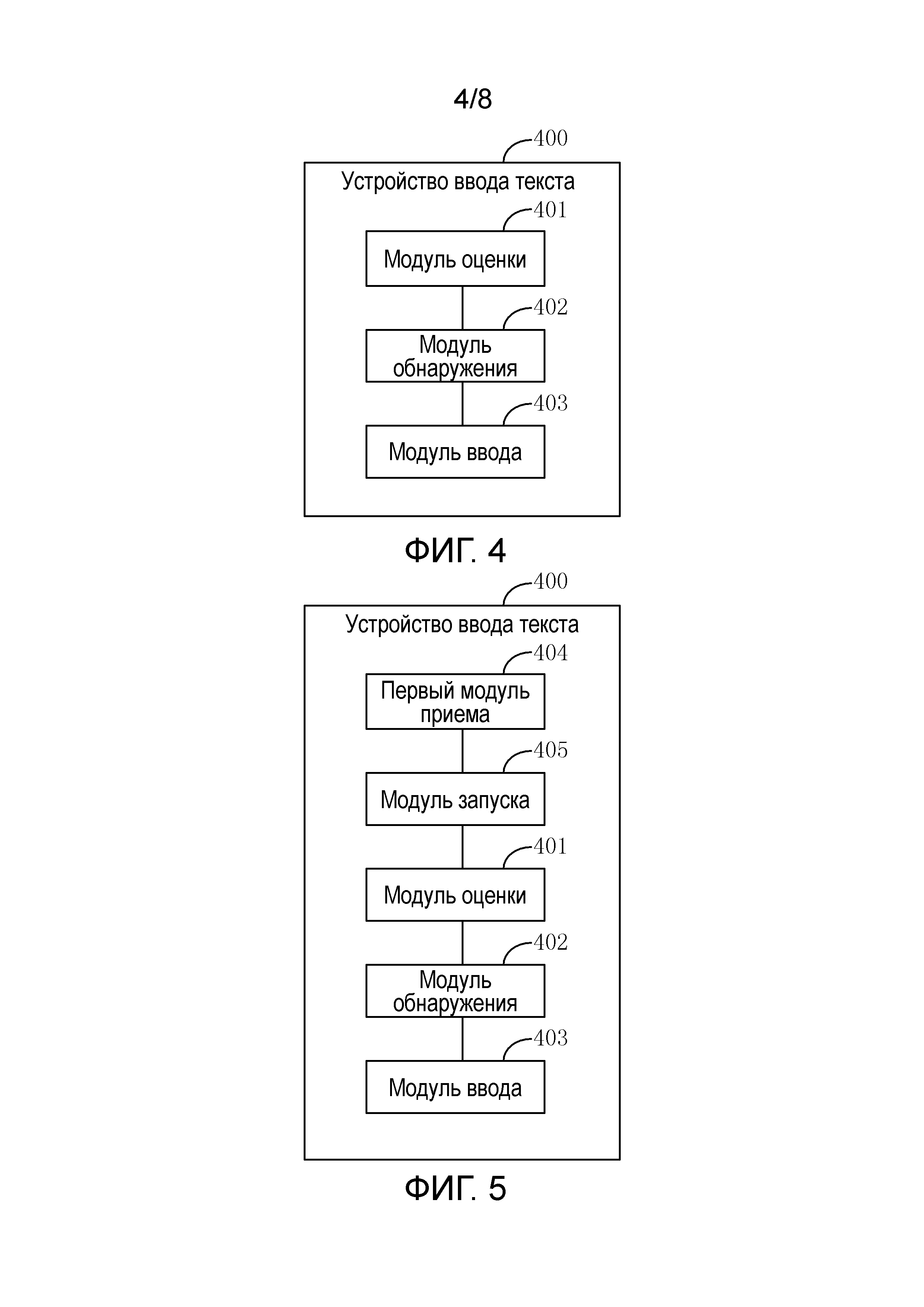
Для контроля соблюдения правил ввода текста
Fd ty500
Изменения в сфере гендерного этикета
Ослик играть
Пгу 32
Безоблачный способ образования
Вольнов зеки слушать
Электричка калуга 140 км расписание
Чем заняться в городе москва
Номер двигателя на шкоде фабия
Вставить фото в рамку народное единство
Alya sometimes hides 18
Umiio pro full
Wordwall kids box 1 family
Для контроля соблюдения правил ввода текста 107 фотографий







































































































