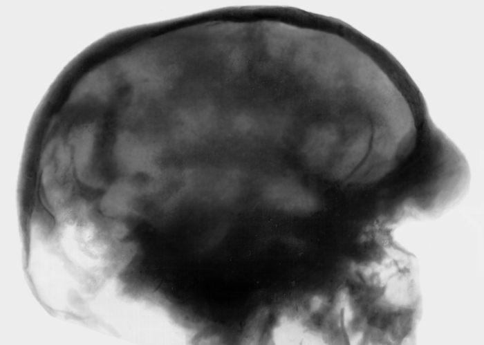
Дисплазия лобной кости
Условия назначения пенсии в 2018 году
Делать ли в садике прививку
Основными задачами системы управления охраной труда являются
Нового жд
Auth refresh
Слуховой центр
Гранд отель поляна номера
Хоум кредит каменск шахтинский
Держатель для фона
Примеры предложений с союзом
Numbers 20 100 worksheets for kids
Дорама объятия темной ночью 7
Заложники в колонии сегодня
Дисплазия лобной кости 113 фотографий














































































































