Дипломная работа по теме Сплавы с особым коэффициентом линейного расширения

👉🏻👉🏻👉🏻 ВСЯ ИНФОРМАЦИЯ ДОСТУПНА ЗДЕСЬ ЖМИТЕ 👈🏻👈🏻👈🏻
Курсовая работа: Сплавы с особым коэффициентом линейного . . .
Сплавы с особым коэффициентом линейного расширения . . .
Сплавы с особым коэффициентом линейного расширения
Расчет коэффициента термического расширения керамических масс
Рефераты, курсовые, дипломные работы на букву «С»
Сплавы с заданным температурным коэффициентом линейного . . .
Дипломная работа на тему сварка легированных сталей
Дипломная работа на тему "Управление финансами на предприятии"
Дипломная работа на тему «Проект термического отделения . . .
Дипломная работа на тему аргонодуговая сварка
Реферат: СНВ-III: обеспечение мировой безопасности. Скачать бесплатно и без регистрации
Дипломная работа по теме Борьба старшей линии династии Габсбургов за европейскую гегемонию в 1516-1598 годах
Реферат по теме Загострення екологічного стану в Україні, Чорнобильська катастрофа
Курсовая работа: Сплавы с особым коэффициентом линейного расширения - BestReferat .ru . Инварные аномалии физических свойств как малые значения …
по дисциплине Специальные стали и сплавы . на тему: Сплавы с особым коэффициентом линейного расширения . температурный коэффициент упругость сплав .
на тему: Сплавы с особым коэффициентом линейного расширения . Среди конструкционных материалов важное место занимают инварные ГЦК-сплавы на основе системы …
Сплавы с особым коэффициентом линейного расширения Инварные аномалии физических свойств как малые значения температурного коэффициента линейного …
Сплавы с особым коэффициентом линейного расширения Инварные аномалии физических свойств как малые значения температурного коэффициента линейного …
allrefs .net /c35/3tzoz/p40/
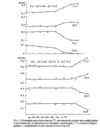
К ним относят сплавы на основе Fe - Ni (ГОСТ 10994-74), имеющие аустенитную структуру, что обеспечивает получение низкого коэффициента линейного расширения . Сплавы …
Из-за пониженной теплопроводности и высокого коэффициента линейного расширения во избежание коробления необходимо выбирать режимы сварки, обеспечивающие минимальную …
Дипломная работа . на тему "Управление финансами на предприятии" Подготовил: Расулов Хайрула Рамазанович . г . Махачкала . 2014 -2015 учебный год . Введение Глава 1 .
A review of all scientific magazines 1999 - 2003 in retrospect is done and some problems are under discussion in this very project . Safely measures are envisaged in …
Помимо этого предлагают [1,2] выделить два переходных класса: псевдо α- сплавы, структура которых представлена α-фазой и небольшим количеством β-фазы (не более5%) и …
Курсовая работа по теме Разработка программного обеспечения для нахождения корней биквадратного уравнения
Курсовая работа: Вычисление кратных интегралов методом ячеек с автоматическим выбором шага. Скачать бесплатно и без регистрации
Внутренний Конфликт Раскольникова Сочинение
Контрольная работа: Контрольная работа по Правоведению 4
Реферат: Зоопсихология
Реферат: Программа социальной адаптации молодой семьи
Реферат На Тему О Мысли И Деле
Курсовая работа: Правые и левые эсеры
Контрольная работа: Информационная безопасность и правовые методы ее защиты
Дипломная работа по теме Роль музейной педагогики в возрождении русской народной культуры в школьных музеях г. Кемерово
География 6 Класс Практические Работы Домогацких
Реферат: Harwood Poetry Essay Research Paper Poems although
Отчет по практике по теме Финансовое состояние ОАО "ШУ "Обуховская"
Контрольная работа: Россия и мир на рубеже XIX XX веков
Иван Андреевич Крылов Биография 3 Класс Реферат
Сочинение На Тему Алфавит 7 Класс Информатика
Диссертация На Тему Методологические Основы Формирования Системы Управления Жилищно-Коммунального Комплекса В Процессе Его Реформирования
Реферат: Статистика производительности труда 3
Реферат: Екатерина II
Диссертация Социальные Системы Производства Знаний
Самопожертвование Сочинение Рассуждение
Автореферат На Тему Роль Інтерлейкіну - 1в Та Фібронектину У Прогресуванні Хронічного Гломерулонефриту
Реферат по теме Антропогенное воздействие на гидросферу. Нормирование ионизирующих излучений
Начертите Два Неколлинеарных Вектора Контрольная Работа
Обучение Технике Бега На Средние Дистанции Реферат
Реферат: Государственный комитет СССР по народному образованию
Курсовая работа: Безопасность жизнедеятельности на производстве
Контрольные Работы По Биологии Пономаревой
Курсовая работа по теме Назначение и применение электронной подписи
Эссе На Тему Красота Спасает Мир
Реферат: Мировые финансовые кризисы
Контрольная Работа 4 Физика 8 Класс
Курсовая работа по теме Динамическое программирование
Контрольные Работы Показательные Уравнения 10 Класс
Влияние Нефтепродуктов На Животных Реферат
Реферат: Хуай Тямпасакский
Курсовая Работа На Тему Аудит Неопераційних Витрат На Підприємстві
Как Должна Выглядеть Деловая Женщина Эссе
Сочинение по теме Поэт и поэзия в лирике А. Ахматовой
Сочинение По Тексту Гроссмана На Войне
Реферат Параметры Страницы
Контрольная Работа На Тему Создание И Оформление Документа Средствами Ms Word
Контрольная Работа Площади 8 Класс Атанасян
Контрольная работа: Формы бухгалтерского учета в бюджетных организациях
Сноски В Дипломной Работе По Госту 2022
Курсовые Работы По Архитектуре С Чертежами
Международная Торговля Реферат По Экономике
Лекция по теме Програма гуртка журналістики
Курсовая работа по теме Сущность явления транснациональной (трансграничной) преступности
Курсовая работа по теме Монетарная политика в условии ловушки ликвидности
Реферат по теме Значение здорового образа жизни для активного долголетия
Реферат: Сервисная деятельность Историческая и современная практика, предпринимательство, менеджмент
Реферат: Джотто. Скачать бесплатно и без регистрации
Эссе М
Реферат: The Internet And The Media Essay Research
Реферат по теме Образование СССР
Реферат На Тему Опиливание Металла
Контрольные Работы 5 Класс Английский Кузовлев
Сочинение Для Оркестра Состоящее Из 4 Частей
Скептицизмнің Гносеологиялық Стратегия Ретінде Эссе
Лабораторные Работы По Физике 10 11
Курсовая Работа На Тему Возникновение И Деятельность Системы Социальных Детских Приютов В Беларуси
Реферат по теме Историческая эволюция быта жителей Османской империи
Лекция по теме Философия в жизни человека и общества
Курсовая работа: Особенности составления бухгалтерской финансовой отчетности
Реферат по теме Специфика педагогического труда
Курсовая работа по теме Правовая охрана Конституции
Дипломная работа по теме Ранние самопроизвольные выкидыши. Роль женской консультации в профилактике невынашивания
Реферат: Eleanor Rigby Essay Research Paper Eleanor RigbyLooking
Реферат по теме Виробництво кольорових металів
Реферат: Анализ финансового состояния ООО XYZ
Ароматические углеводороды
Реферат: Внеклассная работа по химии. Скачать бесплатно и без регистрации
Реферат: A Symbol Of Neglect Essay Research Paper
Реферат: Нейропсихологические синдромы полимодального генеза
Реферат На Тему Проблемы Вод Свердловской Области
Курсовая Работа На Тему The History Of Germany And Tourism
Контрольная работа: Экологические права и обязанности граждан
Сочинение Про Кутузова
Курсовая Работа На Тему Психологическая
Скачать Дмитрий Биленкин Собрание Сочинений
Реферат На Тему Способы Маркирования Отношений В Именной Группе В Грузинском И Турецком Языках
Курсовая работа: Система автоматики регулирования давления
Субъекты Рф Курсовая
Управление Организацией Отчет По Практике
Контрольная Работа Объемы 11 Класс Атанасян
Доклад: Види документації
Курсовая работа: Творча діяльність Панаса Мирного
Отчет по практике по теме Тахеометрическая съемка теодолитного хода, нивелирование местности
Реферат: Cell Membrane Electron Transport Chain Biochemical
Библиотека Реферат 2 Класс
Лечение, прогноз хронического энтерита
Реферат по теме Жизнь по законам конвертации
Реферат: Benito Mussolini Essay Research Paper Who was
Особенности Российской Экономики Реферат
Национальные Особенности Деловых Коммуникаций Великобритании Реферат
Реферат По Теме Синтаксические Нормы Русского Языка
Курсовая работа: Организационная культура в менеджменте
Урок Лабораторная Работа Носит Характер
Курсовая Работа На Тему Интернет Магазин
Дипломная работа по теме Сплавы с особым коэффициентом линейного расширения

















































