Дипломная работа по теме Реализация метода магнетронного распыления в установке ВУП-5

💣 👉🏻👉🏻👉🏻 ВСЯ ИНФОРМАЦИЯ ДОСТУПНА ЗДЕСЬ ЖМИТЕ 👈🏻👈🏻👈🏻
Методы исследования параметров тонких пленок
Исследование производительности работы магнетронной . . .
Доклад на тему "Магнетроны и гиротроны" скачать бесплатно
Магнетронное напыление . Курсовая работа (т) . Физика . 2015 . . .
1 .1 Краткая технология НШС - 2000 . Устройство станка . . .
Реферат: Метод магнетронного напыления покрытий с ионным . . .
Методы получения тонких пленок . Курсовая работа (т . . .
Последовательность включения приводов, режимы работы . . .
Защитные тонкопленочные покрытия на основе нитридов . . .
Исследование и разработка ледостойких анодов для систем . . .
Реферат по теме Духовное исцеление с помощью секса
Дипломная работа по теме Исследование орнаментального искусства и применение орнамента в изделии
Реферат по теме Адвокатская этика
Реализация метода магнетронного распыления в установке ВУП- 5 Принцип действия магнетронного источника распыления .
дипломная работа . . . Реализация метода магнетронного распыления в установке ВУП- 5 . Принцип действия магнетронного источника распыления . Техническое устройство и система магнетронного . . .
Реализация метода магнетронного распыления в установке ВУП- 5 . Диплом по прочим предметам . 742 Кб / 26 стр / 3980 слов / 26177 букв / 25 мая 2019
Реализация метода магнетронного распыления в установке ВУП- 5 Скачать Скачать документ Информация о работе Информация о работе
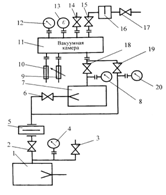
3 Инструкция по работе с магнетронной системой «МАГ-2000» Все работы по реализации метода магнетронного распыления проводились на вакуумном универсальном посту (ВУП- 5 ) .
Технологии, связанные с нанесением тонкопленочных покрытий . Расчет распределения толщины покрытия по поверхности . Технологический цикл нанесения покрытий . Принципы работы установки для нанесения покрытий . . .
Рис 3 . Трехэлектродная система распыления По достижении в камере вакуума порядка10-4 Па термокатод разогревают и в камеру через натекатель подают инертный газ при давлении 0,05 - 1 Па . В . . .
Циклограмма работы электроприводов и цепи управления . Для более полной информации о принципе работы узлов и отдельных устройств станков и установок электрическую принципиальную схему часто дополняют циклограммами .
Технологические методы создания локальных упрочненных зон на режущем инструменте . 1 . 3 . 1 . Химико-термические методы формирования покрытий (ХТМ) 1 . 3 . 2 .
В связи с вышесказанным в рамках работ по диссертации были разработаны технические требования к установке магнетронного напыления платинового покрытия на ниобиевые электроды [72] и . . .
Контрольная работа по теме Запад, Восток, Россия в диалоге культур
Сочинение Зачем Нужна География 5 Класс
Реферат по теме Арменоиды - аристократия древности
Курсовая работа: Уроки Берестецької битви
Реферат: Отчет о прохождении преддипломной практики по бухгалтерскому учету, анализу и аудиту
Учебное пособие: Физические основы полупроводниковых приборов
Доклад по теме Атлантический морж
Реферат по теме Проблемы регистрации прав на недвижимое имущество
Курсовая работа по теме Методы масштабирования изображений
Реферат по теме Создание и совершенствование искусственного интеллекта
Курсовая работа по теме Особенности создания детектива на примере произведений А. Кристи
Защита Диссертации Военнослужащим
Сочинение Сильные И Слабые Стороны Чацкого
Достық Және Махаббат Эссе
Реферат: Plasmid Extraction Essay Research Paper IntroductionChitobiase from
Реферат: Невозобновимые ресурсы. Скачать бесплатно и без регистрации
Қасым Туралы Эссе
Реферат На Тему Програма Впровадження Етики В Державну Службу Обласного Рівня
Дипломная работа по теме Виробництво кормового білка
Реферат по теме Роль религии в формировании общественного самосознания
Реферат по теме Назначение графена
Реферат: Задачи дисциплины заключаются в овладении слушателями методами и приемами экономического анализа, в умении использовать приобретенные теоретические знания на практике. Содержание дисциплины
Реферат: Основные черты философии эпохи Возрождения
Сочинение Горе От Ума Тема Любовный Треугольник
Человек И Общество Сочинение По Литературе
Контрольная работа по теме Риэлтерская деятельность
Реферат по теме Ближайшие предшественники Огюста Конта: Сен-Симон
Учебное пособие: Статистичні методи в БЖД
Реферат по теме Субъекты рынка и инфраструктура рынка
Эссе Статистика Вокруг Нас
Реферат: Устав муниципального образования и практика его реализации . Скачать бесплатно и без регистрации
Лабораторные Работы По Физике Перышкин
Курсовая работа по теме Интеллектуальная собственность. История и современность
Реферат по теме Загальна патологія органів дихання
Диагностическая Контрольная Работа 8 Класс Алгебра
Особенности Системы Российского Права Реферат
Курсовая работа по теме Понятие целого неотрицательного числа
Реферат: Когнитивная психология
Сочинение По Литературе 5 Класс Васюткино
Разработка школьного элективного курса "Полимеры вокруг нас"
Рефераты На Тему Коррупция
Проблемы Ожирения Реферат
Гаевой Усик Курсовое И Дипломное Проектирование Pdf
Курсовая Работа Пиелонефрит
Сочинение На Тему Морфемы Значимые Слова
Организационная Структура Планирования Эссе
Реферат: Понятие заработной платы. Ее виды
Контрольная Работа На Тему Постоянные Комиссии
Дипломная работа по теме Развитие концепции национальной безопасности в свете обеспечения обороноспособности Китайской Народной Республики на современном этапе
Дипломная работа: Работа социального педагога с семьей "группы риска"
Курсовая работа по теме Разработка ПО для поиска человека в городе и деревне
Контрольная Работа 5 Класс Дроби
Рамка Для Реферата В Ворде
Реферат: Христианство и Ислам: сходства и различия. Скачать бесплатно и без регистрации
Реферат по теме Хозяйственная деятельность предприятия (отчет о практике по пансионату Янтарь)
Кандидатские Диссертации По Дислексии
Курсовая работа по теме Планирование комплекса маркетинга на примере предприятия ООО 'Дятьково-ГМЗ'
Курсовая работа по теме Салаты из рыбы
Реферат: Заболевания органов пищеварения: пищевода, желудка, печени, желчного пузыря
Реферат: План создания Рыбного хозяйства. Скачать бесплатно и без регистрации
Курсовая работа по теме Аналіз товарної номенклатури компанії ТМ 'Мілітарист'
Написать Эссе На Работу
Курсовая Работа Общественного Здания
Реферат по теме Диалектика сознательного и бессознательного
Реферат Качестве Жизни
Курсовая работа по теме Расчет эксплуатации газовой скважины фонтанным способом
Дипломная работа: Участие переводчика в российском уголовном процессе
Реферат: Вальдемар I Биргерссон
Контрольная Работа 2 Алгебра 7 Класс Колягин
Сочинение По Упражнению 102
Реферат На Тему Значение Животных
Реферат Виды Конденсаторов И Их Применение
Курсовая работа по теме Фразеосемантическое поле "состояние и поведение человека" в русских говорах Мордовии
Реферат по теме Институциональная структура общества. Неформальные правила
Реферат по теме Уровни духовной культуры менеджера
Курсовая работа по теме Привод буровой лебедки
Легко Ли Быть Журналистом Эссе
Тихомирова 11 Класс Физика Контрольная Работа
Технико Экономическое Обоснование Материалов Пример
Реферат по теме Анализ почв. Отбор проб, извлечение загрязняющего вещества, основные методы анализа, пределы обнаружения
Сочинение На Тему Максима Горького На Дне
Исторические типы стратификации
Реферат по теме Контрольная по ДКБ
Реферат: Оборотные средства предприятия 9
Реферат: Frank Sinatra Essay Research Paper Frank SinatraAs
Дипломная работа: Изучение теоретических аспектов формирования социально – психологических взаимоотношений в коллективе. Скачать бесплатно и без регистрации
Курсовая Работа На Тему Методика Виховання Гнучкості У Школярів
Реферат по теме Influences that affect the business environment of Hydrolife Bottlers Company in Uzbekistan
Можно Ли Назвать Поколение Зет Потерянным Сочинение
Контрольная Работа На Тему Территория
Реферат: Война в дискурсе современной прессы
Рефераты Радиационная Безопасность
Понятие Классификация И Характеристика Торговли Реферат
Реферат: Функции, способы измерения и история денег
Сочинение На Тему Птицы Осенью
Реферат: Некоторые аспекты оптимизации параметров ядерного топлива для ВВЭР. Скачать бесплатно и без регистрации
Реферат На Тему Особа
Дипломная работа: Вплив іноземного перестрахування на платоспроможність вітчизняних страхових компаній на прикладі
План Мини Сочинения По Обществознанию Егэ 2022
Доклад по теме Механическая память на основе НЭМС-систем
Дипломная работа по теме Реализация метода магнетронного распыления в установке ВУП-5





















































