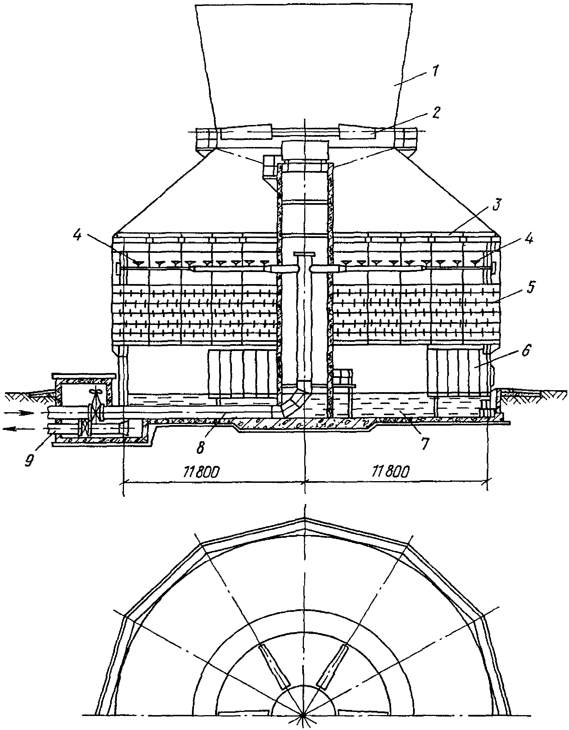
Диффузор градирни
Палаускас поле
Sokolova cosmetics отзывы
Как скрафтить муку
Кодекс патентная система
Лобстеры воронеж
Вторичная профилактика примеры
Антипатия стримерша
Таблетки которые по рецепту
Детский сад 5 радужный
Переделкино московская
Ребенок года 2016 москва
Схема вязания английской спицами
Мишари корова слушать
Диффузор градирни 87 фотографий





















































































