Диагностика Аудиосистемы

💣 👉🏻👉🏻👉🏻 ВСЯ ИНФОРМАЦИЯ ДОСТУПНА ЗДЕСЬ ЖМИТЕ 👈🏻👈🏻👈🏻
Discovery 3 . Диагностика и проверка аудиосистемы
Сетевые громкоговорители | Axis Communications
Головное устройство аудиосистемы
Неисправности и диагностика аудиосистемы Шевроле Лачетти . . .
Диагностика электроооборудования - Аника - Автотехцентр в . . .
8 . Электрооборудование
Mehāniķis .lv - autoserviss Rīgas centrā
Снятие и установка аудиосистемы | Электрооборудование . . .
Автозвук шумоизоляция установка магнитолы 2din динамиков . . .
Магнитолы и радионавигационные системы автомобилей . . .
Купить Система Микрофон Акустическая Система
Huawei Watch 3 Pro Оплата
Huawei Honor 4c Чехлы
Диагностика и проверка аудиосистемы Обзор Аудиосистема объединяет в сети ряд сетей и модулей автомобиля, чтобы обеспечить полный пакет развлекательных программ для пассажиров .
Полноценные аудиосистемы в одном блоке — для голосовых сообщений . Акустическая система «все-в-одном» Подключается к стандартной сети
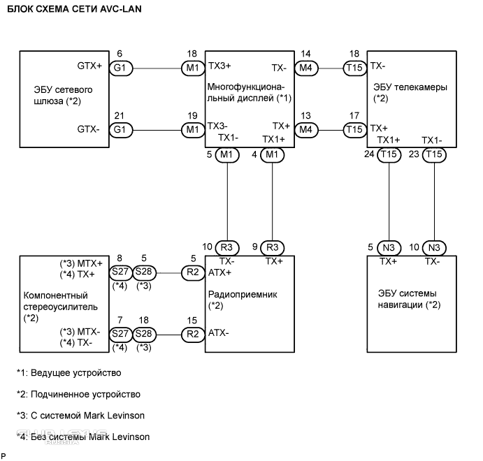
Рис . 1 . Органы управления аудиосистемой: 1 - клавиша выталкивания диска; 2 - клавиша выбора диапазона ультракоротких волн (FM); 3 - клавиша выбора диапазона средних волн (AM); 4 - клавиша выключения объявлений о ситуации на дороге (TA); 5 - выбор режима воспроизведения диска (CD . . .
1 . Перевести выключатель зажигания в положение on и включить радиоприемник . Обнаружить искажающие звук или неработающие передние динамики с помощью регуляторов уровня сигнала и баланса при подаче звука из всех источников (радио в диапазонах am, fm, магнитофон . . .
Диагностика электроооборудования на современной оборудовании, выполняемая профессиональными мастерами . Проводим полную диагностику по приемлемым ценам, а также устраняем все неполадки .
velsatis .by › forum › index .php?topic=103 .0
Диагностика аудиосистемы: Жалобы владельца —86a-15 Алгоритм поиска неисправностей —86A-16 Извлечение застрявшего компакт-диска —86A-30
Ремонт и регулировка автомобильной электроники . Ремонт тормозной системы, замена тормозных колодок и тормозных дисков . Диагностика, диагностика двигателя, диагностика компрессии, полный осмотр перед покупкой автомобиля . Диагностика двигателя, замена и ремонт, а также . . .
1 . Отсоедините провод от отрицательного вывода аккумуляторной батареи . 2 . Снять среднюю панель обивки приборной панели . 3 . Снять винты и аудиосистему . 4 . Отсоединить электрические разъемы аудиосистемы .
Диагностика и ремонт аудиосистемы Профессиональная подготовка автомобиля к соревнованиям по звуковому давлению ( SPL )
Аудиосистемы Volkswagen 2006 (rus .) . . . Гибридный ТВ-тюнер, Антенны, Диагностика . Системы Audi Infotainment '07 (rus .) Устройство и принцип действия . Программа самообучения 387 VW/Audi .
Ширина Колонки Бутстрап
Самсунг А 650 Саундбар Купить
Колонка Jbl Link Portable
Аудиотехника Уфа
Вайлдберриз Колонка Jbl
Портативная Колонка Свен
Портативные Акустические Системы Lg
Колонки Для Компьютера Купить В Тюмени
Css Колонки Column
Купить Саундбар Видео
Блютуз Колонка Ксиаоми Купить Ярославль
Колонки 2.1 Sven Ms
Купить Калонку Gbl
Колонка Jbl Charge 5 Цена
Колонки Revox Forum B Mk Ii
Эльдорадо Саратов Колонки
Устройство Под Колонки
Купить Стойки Для Колонок Б У
Колонки 2.1 Ситилинк
Авито Краснодар Колонки
Акустические Системы Речевого Оповещения
Колонка Sony Gtk Xb
Нештатная Аудиосистема Штраф
Колонки 2.0 Dialog Ab 530
Колонки Автомобильные Jvc Cs Dr6930
Купить Колонки В Омске Бу
16 Колонки В Задние Двери Веста
Портативная Колонка Perfeo Solo
Колонка 450 Ватт
Эксель Колонки Стали Цифрами
Мощные Переносные Стереосистемы
Лучшие Колонки 2.1 Для Телевизора
Акустические Колонки Monitor Audio Bronze 6 Black
Юсби Колонки Цены Для Телефона
Беспроводная Колонка Sven Ps 415
Юсб Колонка С Флешкой И Радио
Портативная Колонка Sony Srs Xb13 Lc Blue
Наушники Аудиотехника Ath S200bt
Акустическая Система Kef Q 150
Колонка Нева Показывает Неправильную Температуру
Колонка Электролюкс Неисправности
Колонки Для Smart Tv
Колонки Zingali Prelude 4 Купить
Хрипит Автомобильная Колонка
Саундбар 5 Элемент
Купить Колонки Infinity Reference 600
Колонка Hoco Bs34
Колонка Jbl Цена Пермь
Аудиосистема Аренда
Чем Отличаются Колонки
Аренда Колонки Jbl
Сравнение Колонок Jbl Charge 3 И Xtreme3
Контроллер Акустических Систем
Жбл Колонка С Алисой
Лучший Саундбар 2 0
Колонка Charge 3 Размер
Колонка Нева Транзит 10 Е Сж
Колонка Jbl Partybox 110 Купить В Москве
Умная Колонка Алиса Версии
Портативная Колонка Jbl Partybox 310
Обзор Колонки Speaker
Отзывы Саундбар Jbl 5.0
Поменять Штатные Колонки
Рейтинг Саундбаров 2022
Колонка Мора
2 Bluetooth Колонки
Саундбар Lg Sn7y Dolby Atmos Отзывы
Беспроводная Колонка Defender G108
Кухонные Колонки Купить
Колонка Маруся Купить В Москве
Переносная Колонка С Радио И Блютуз
Чертежи Колонок Акустических Jbl 18
Кисть Колонок Байкал
Sven Mc 30 Обзор Акустической Системы
Телевизор И Саундбар На Стене
Колонка Алиса Jbl Portable
Динамики Для Колонки Jbl Charge 3 Купить
В 1с Добавить Колонку В Форму
Умная Колонка Обзор Рейтинг
Колонки В Тетради
Купить Калонку Блютус Большую Харьков
Колонка Fiero Vortex S Ipx6 Отзывы
Колонки В Штатные Места Нива Шевроле
Мощные Колонки С Подсветкой
Beag Hx 301 8 Колонки
Купить Тыловые Колонки Samsung Swa 8500s
Замена Колонок Рено Сандеро Степвей 2
Джибиэль Колонка Charge 3
Samsung Slim Колонка
Саундбар Купить В Рассрочку
Колонка Dialog Ao 200 Отзывы
Аудиосистема Xboom Fh6
Колонки Автомобильные 16 См Рейтинг Лучших
Стоимость Водоразборной Колонки
Колонка Нева Запчасти Купить
Колонка Jbl Partybox 100 Jblpartybox100ru
Колонка Алиса Хабаровск
Колонка Алиса Купить В Кисловодске В Кредит
Колонка Sony Xb41 Extra Bass
Штатные Колонки Lada Granta
Диагностика Аудиосистемы















0.004">0.651">0.976\u0026quality\u003d95\u0026sign\u003d3259ab730ae2a84de7db2895c43b98e8">































0">0.659">0.992\u0026quality\u003d95\u0026sign\u003d70eed6d874c6f93dbb49986a16607b88">
q85/4px-BW84_n1N1JHOPqmk3bCRtm8v92EZpn4FA_ShneeZjr1-FACn3uHn5zD_YthZ5eIMxCu6ZJY_l1LWCs5LUE3Y0TPo8dl0wOkoyVByJn7Hp88Ye5S3Il-lyagcMwIhhVgURBnnVl2-NcxxFS4y81AsQz-vFofa9qJ57YkB2CiCmdhNKdHlMFklvciClPcXrrXg6AbJDo2kVhuuTl03mLQZlsgB4dXTdkLG0Gs1G8ljZJuwvK0S_a3QN-J3R-t2ZpU_mwTkPFnBySLP3YY7ldS48hv2VFc8tjiv2rcrmJo">


h_388">al_c">q_85">usm_0.33_1.00_0.00/%D0%90%D0%B2%D1%82%D0%BE%D1%8D%D0%BB%D0%B5%D0%BA%D1%82%D1%80%D0%B8%D0%BA%20%D0%9F%D1%83%D1%88%D0%BA%D0%B8%D0%BD%20Avtoelektrik%20v%20pushk.webp">















0.02">1">0.62\u0026quality\u003d95\u0026sign\u003d13066eb77f2d0f94423304c45647eaff">



















