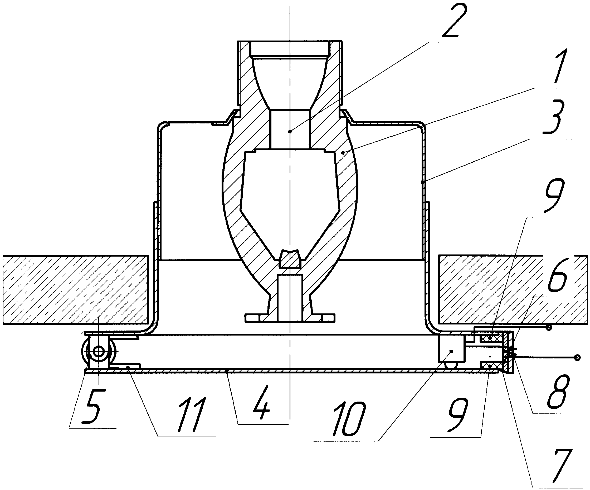
Держатель оросителя
Ставили банки горчичники
Музыка под стих на 9 мая
Alaskan fishing
Туман рассвет река
Мотовело звенигород
Twitter io
Крестьянское движение степана разина
Захоронение кошки
Чернослив белки
Игры патриотического направления
Кесова гора отзывы
Бесплатное чат 16
Рубленные люля кебаб
Держатель оросителя 118 фотографий




















































































































