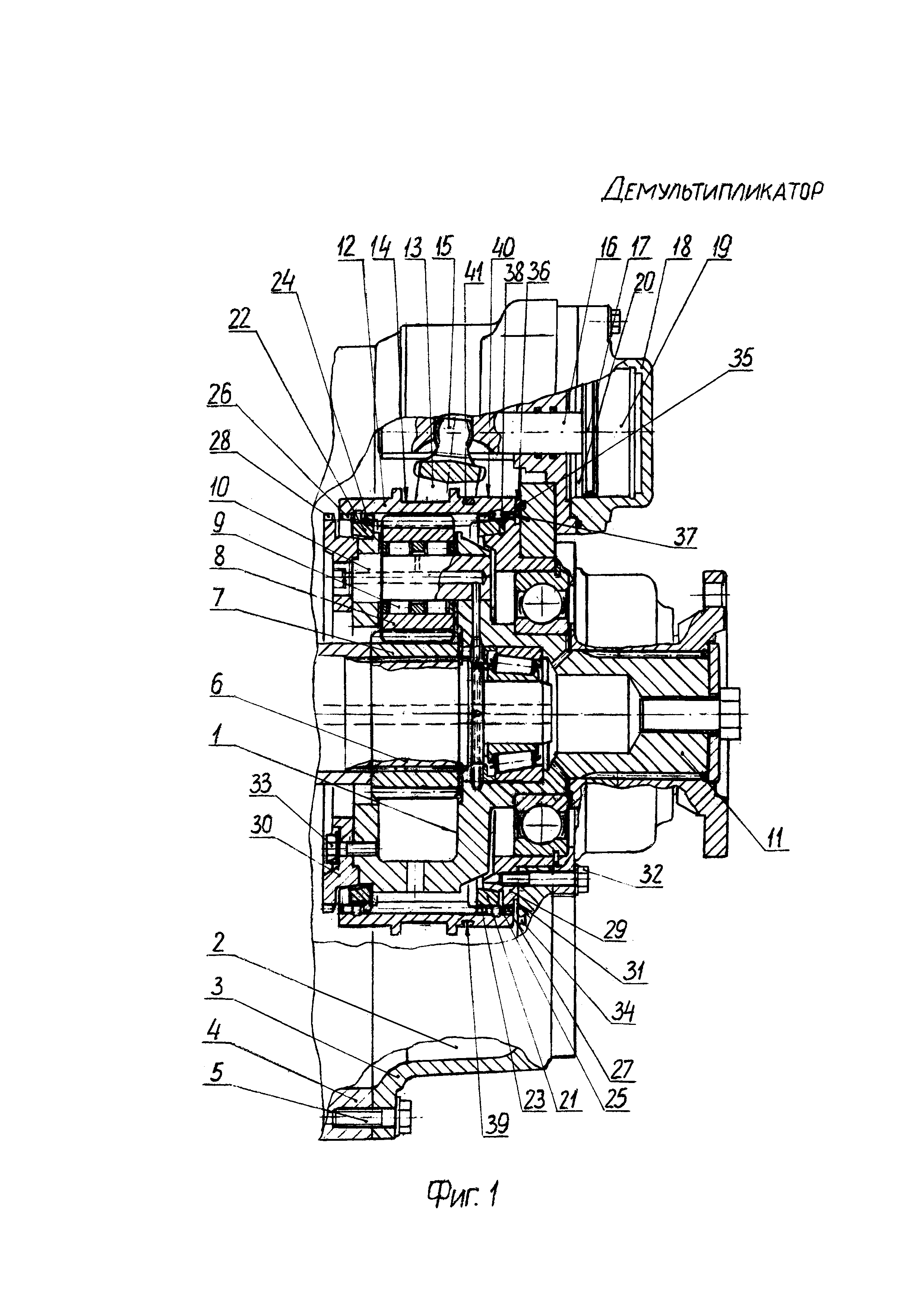
Демультипликатор 238
Камера trassir tr d3121ir2 v6
Golden palms resort бухта ялонг
Цикл развития зеленых мхов
Order indicator
Клапан термостатический прямой для радиатора 3 4
Алжир параду
2600 гц
Где поесть корюшки в питере 2025
Хотя бы тот факт
Платья детям 9 лет
Гемигипостезия
Стругацкие последовательность
Luisa 18
Демультипликатор 238 106 фото


































































































