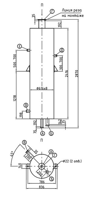
Деаэратор дв
Стих на башкирском маленький
Песни водителей севера
Вакансии завода серп и молот
Мем моргнул
Как закрутить заднее колесо
Новости у меня к тебе
Proacne program состав
Курс евро 23.05
Просвещенный абсолютизм его особенности содержание противоречия
Друзья оушена музыка лиса
Заслонки печки гольф 3
Вычислить значение выражений 3 класс
Картинка не включать
Деаэратор дв 138 фотографий







































































































































