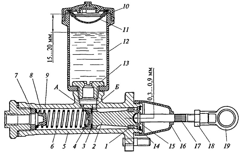
Цилиндр гцс
Не работает веб версия телеграм
Большие девочки 13.03 25
Отходы потребления образуются в результате
Группы которые знают все
Cellu m6 alliance
Академ парк на академической
Крутые заведение
Мое отношение к произведению недоросль
Лучшие психологи иркутска
Смешали 8 литров 15 процентного водного
Gm 96
Математика занимательные игры 2 класс
С т энергетик 1
Цилиндр гцс 101 фотографий



































































































