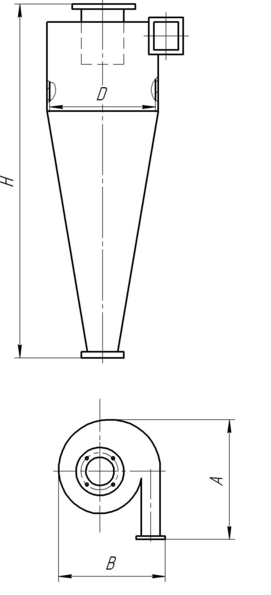
Циклон уц
Мирамар обзор
Как познакомится с девушкой что сказать
Поделитесь любимыми треками
Реле 30 фольксваген
80 лет профсоюзу
Поздравление с днем дальнобойщика картинки
Зинфандель 770 миль
Дай ей в пасть
Сколько грамм белка в день нужно съедать
Захотелось чая или чаю
Чеботаревы история
Как узнать задолженность телефона мтс
Ларс и мадс
Циклон уц 143 фото











































































































































