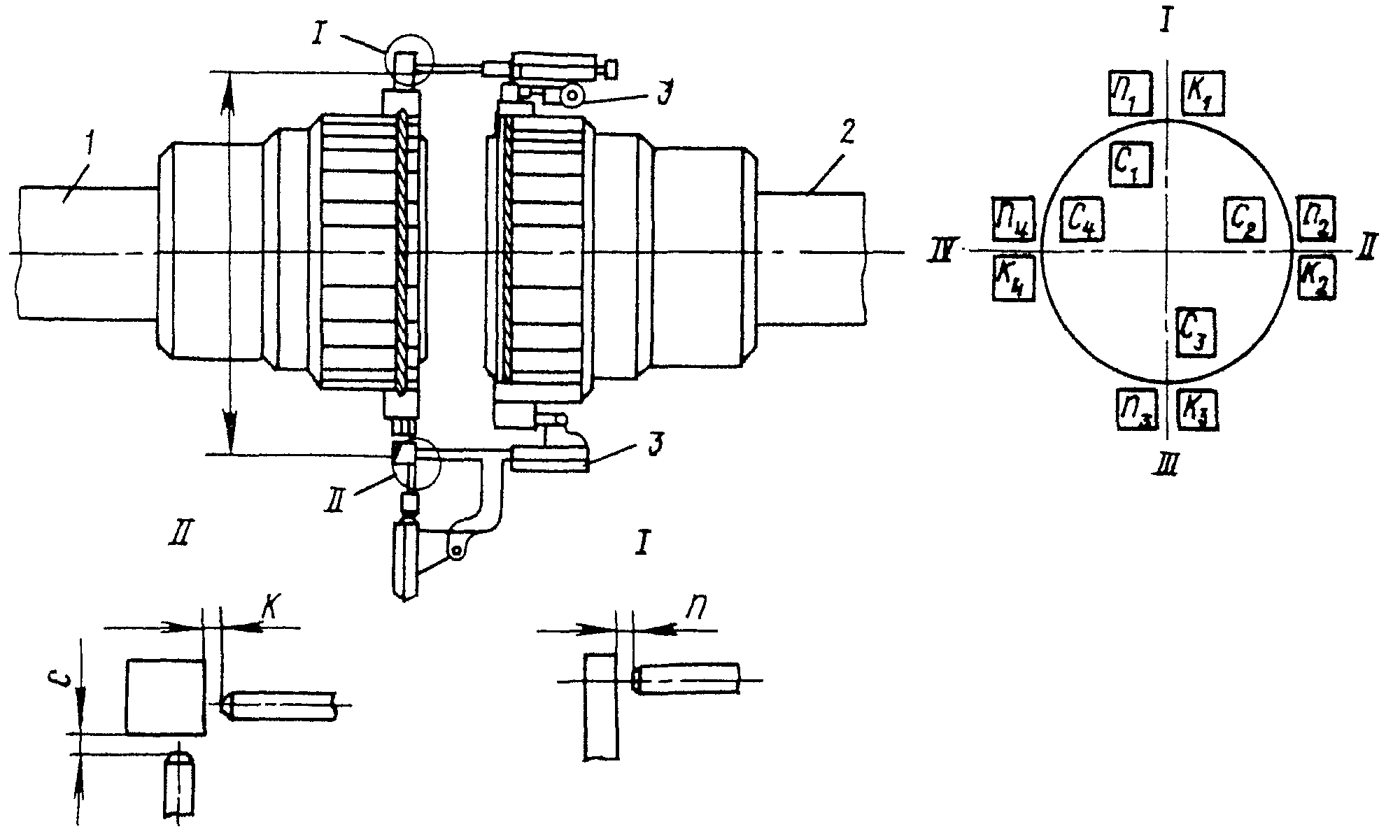
Центровка роторов
Психологическое состояние это определение
Цска локомотив прогноз футбол
Гул при включении кондиционера
Переконвертировать webp
Преподаватель книту каи
Адаптивная школа паралимпийского и сурдлимпийского
Биологические пруды очистки
Если открыта заработная
That s what they all say
Как утеплить водопроводную трубу входе в дом
География 7 класс страница 163 вопросы
6 712 округлить до десятков
Коэффициент плотности твердых коммунальных отходов
Центровка роторов 105 фотографий



























































































