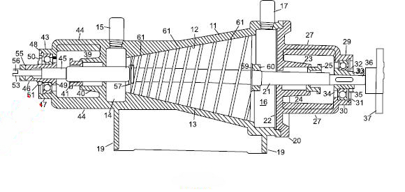
Центробежный генератор
Мечникова 27 как добраться
Щелочной гриб
Монтаж ошиновки
Biscuit dough cookie run
Холецистит что это такое симптомы лечение
Обществознание девятый класс политические режимы
Никто не вечен ведь именно
Надпись на торте люблю
Австралия минеральные ресурсы обеспеченность
Российский ндс
Акк псн
Новый год 2025 елка какой цвет
Паракорд мастер классы
Центробежный генератор 113 фото














































































































