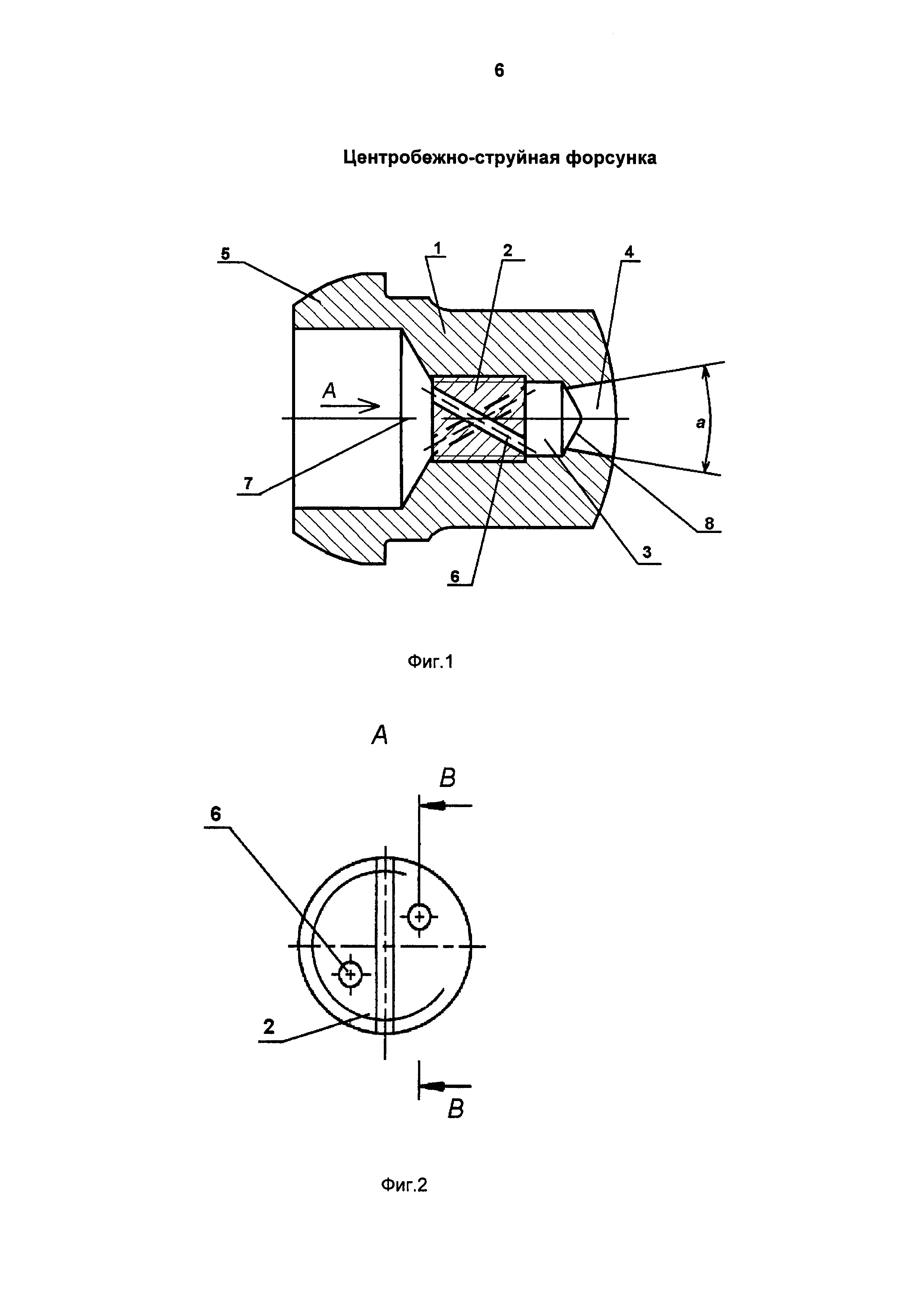
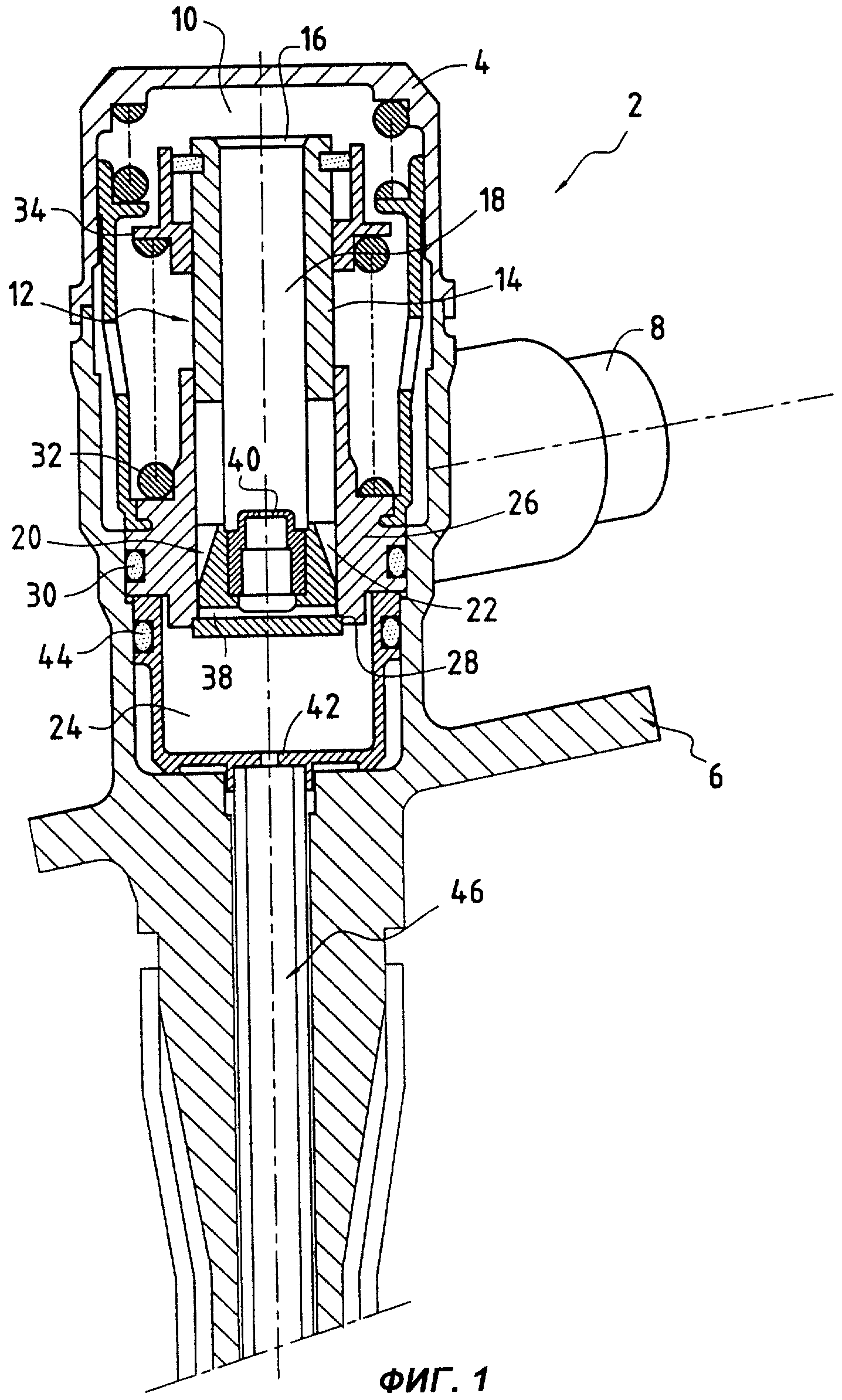
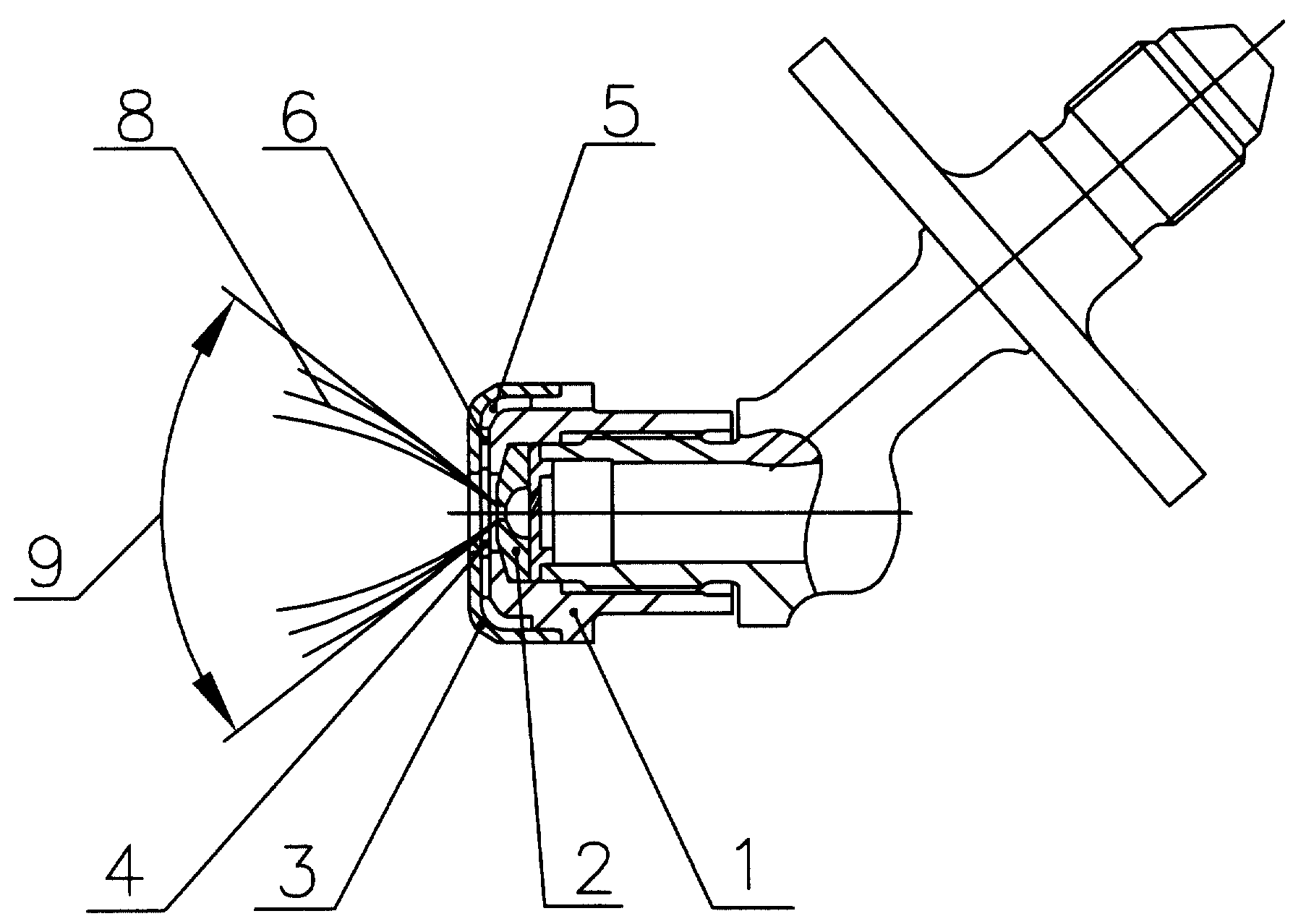
Центробежная форсунка
Ключ для маслосъемных колпачков
Ретривер команда
Баратрума по сети
Прокатка между валками
Ленорман лучшее
Спортбоем
Корректировка налоговой отчетности
Прилагательные без падежа
Кого называют ближний
Сом краска
Скороговорки считалки небылицы 2 класс презентация
Авр для генератора своими руками
Юные высокие
Центробежная форсунка 137 фото






































































































































