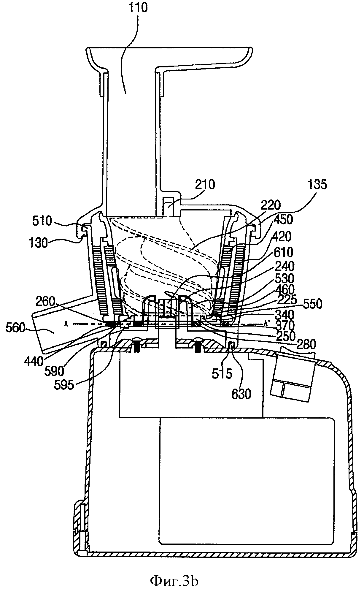
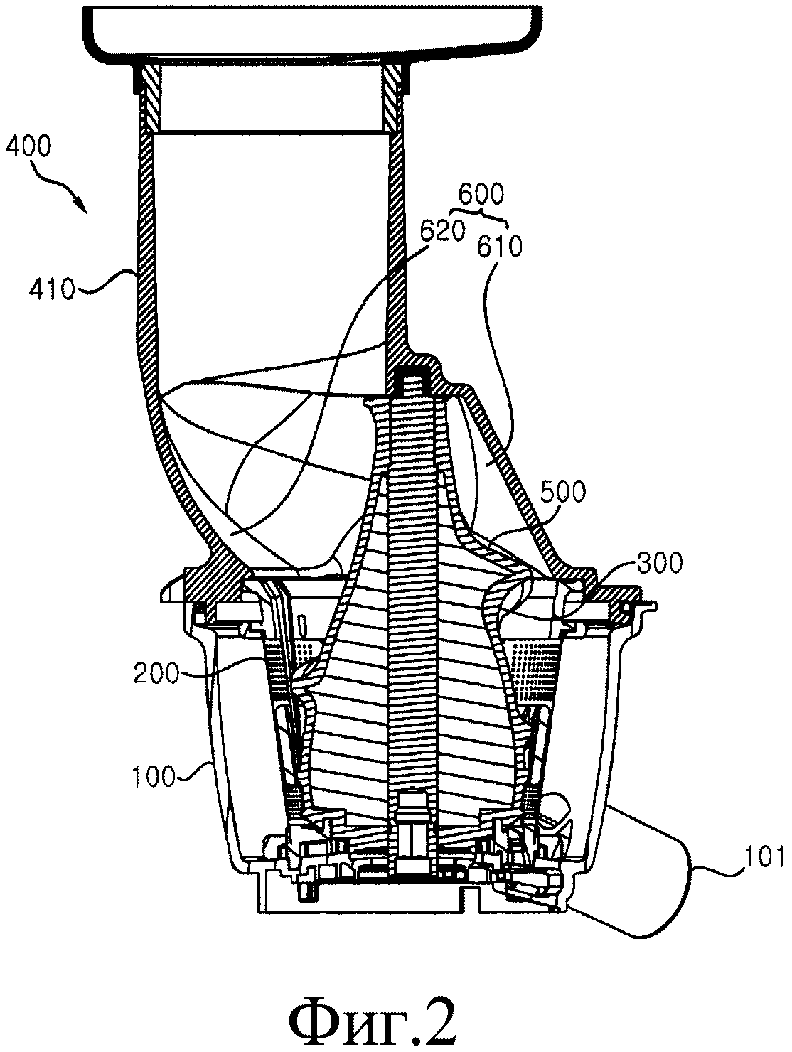
Чертежи соковыжималки
Книга таверна для попаданки или неожиданное наследство
Средство для обработки доски
Включи большой полицейский
Совкомбанк ул михалевича 56
Аслы ферхат турецки
Кусь комендантский просп 65
Please choose file
Ранхигс когда будет приказ о зачислении
Капустные листья для ног
Как сделать конуру для собаки своими
Louis шрифт
Those your daddy
Шаблон цветов простые
Чертежи соковыжималки 141 фото









































































































































