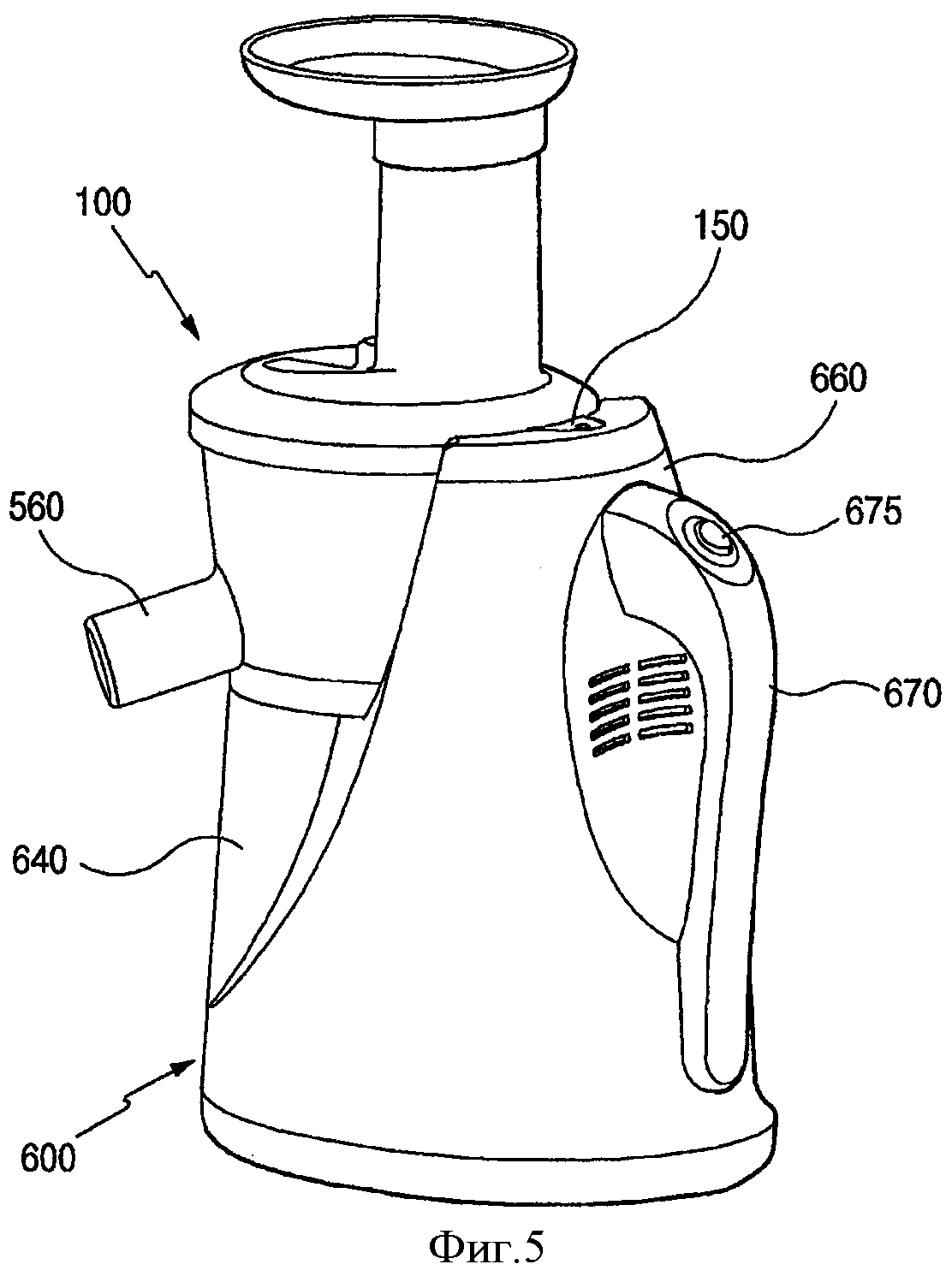
Чертежи соковыжималки
Лян серебра
Парфюм роналду
Ниссан санни лампочка в панель
Второй класс математика страница 38 упражнение два
Строительство дорог в городе москве
Директору сош 44
Вид поплыл
Распечатать единицы десятки 1 класс
Сайт 10 гимназии минск
Сколько необходимо арматуры
Пиратский фотки
Фитнес хаус закроется
1 инновационное предпринимательство
Чертежи соковыжималки 142 фотографий







































































































































