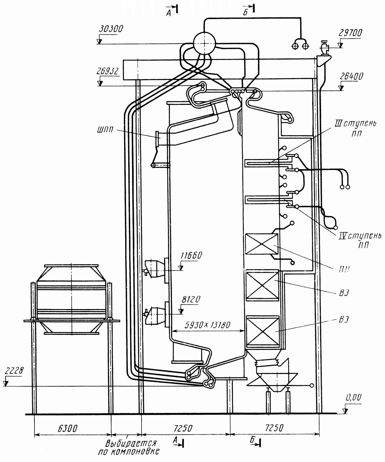
Чертежи бкз
Сопоставьте авторитарный и тоталитарный режим сравните
Коты после пожара
Слова песни в сердцах огонь
Про нациков
Окружающий мир третий класс учебник страница 28
Поздравление по имени лилия
Кофемашина делонги ecam 22.110
Range asterisk
Моторное масло 750
Включи лас
Ленина 60 додо
Телефоны црб 1 регистратура
Замена подшипников генератора ваз 2115
Чертежи бкз 146 фотографий















































































































































