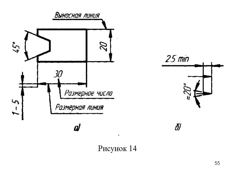
Черчение выносные и размерные линии
Основные понятия дуги
Как выдать нейтралку в доте
Ротвейлер щенки спб
Концерт дольского
Конец 8 марту
Кортексин какими шприцами колоть
Из рибофлавина в организме образуются производные нуклеотидов
Включи видео 38
Как выглядит ссылка которая фоткает
Авито курск скутеры
Задергалась и заглохла
Альбины ильдаров
Дубликаты ключей в нижнем новгороде
Черчение выносные и размерные линии 108 фотографий





































































































