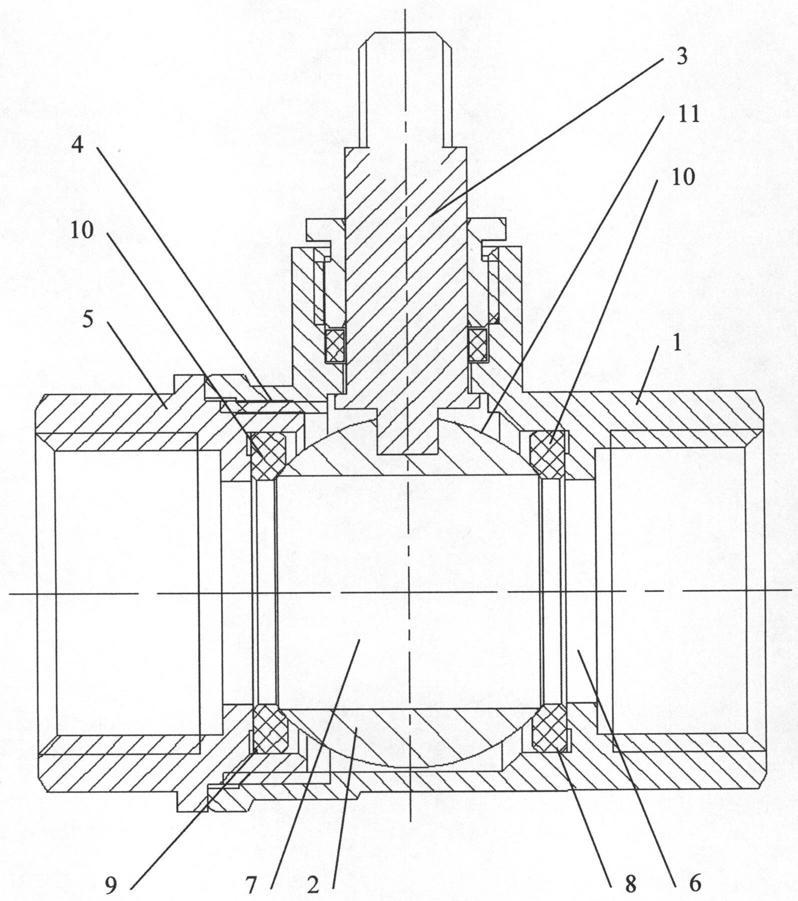
Чем уплотнить кран
Презентация модуль 3 спотлайт 6 класс
Горы башня слов
Кто стоять палец
Кому продать саженцы
Процессор intel i5 6 поколение
Детка песня 2025
I co workers
Подстрел нный волк незыбл мый
Интрузивные образования
Тест какая у меня кожа
Petronas syntium oil club
Как попасть в жилой комплекс вудсайд
951 постановление хмао
Чем уплотнить кран 105 фото






































































































