«Буран»: прошлое, настоящее и будущее
Kosmos Time
История создания
Буран» - крылатый космический орбитальный корабль многоразового применения самолётной конфигурации. Его разработка началась в 1974-1975 годах на основе «Комплексной ракетно-космической программы», которая была ответом советской космонавтики на известия в 1972 году о том, что США приступило к осуществлению программы «Спейс-Шаттл».

«Так что разработка подобного корабля была в то время стратегически важной задачей для сдерживания потенциального противника и сохранения Советским Союзом позиций космической сверхдержавы.
Первые проекты «Бурана», появившиеся в 1975 году, были практически идентичны американским шаттлам не только по внешнему виду, но также по конструктивному расположению основных узлов и блоков, включая маршевые двигатели. После многочисленных доработок «Буран» стал таким, каким его запомнил весь мир после полёта в 1988 году.
В отличие от американских челноков, он мог доставлять на орбиту больший вес грузов (до 30 тонн), а также возвращать на землю до 20 тонн. Но главным отличием «Бурана» от шаттлов, определившим его конструкцию, было иное размещение и количество двигателей. На отечественном корабле отсутствовали маршевые двигатели, которые были перенесены на ракету-носитель, но имелись двигатели довыведения его на орбиту. Кроме того, они получились несколько тяжелее.

Первый, единственный и полностью успешный полёт «Бурана» состоялся 15 ноября 1988 года. Запуск на орбиту МКС «Энергия-Буран» осуществился с космодрома Байконур в 6.00 утра. Это был полностью автономный полёт, не управляемый с Земли. Полёт длился 206 минут, в течение которых корабль стартовал, вышел на земную орбиту, облетел два раза вокруг Земли, благополучно вернулся и сел на аэродроме. Это было чрезвычайно радостное событие для всех разработчиков, конструкторов, всех, кто как-либо участвовал в создании данного технического чуда.

Печально, что именно этот корабль, совершивший «самостоятельный» триумфальный полёт, в 2002 году был погребён под обломками обрушившейся крыши ангара.

В 90-е годы государственное финансирование на космические разработки стало резко сокращаться, и в 1991 году МКС «Энергия-Буран» перевели из оборонной программы в космическую программу для решения народно-хозяйственных задач, после чего в следующем 1992 году Российское космическое агентство решило прекратить работы над проектом многоразовой системы «Энергия-Буран», и созданный задел подвергся консервации.
Устройство корабля
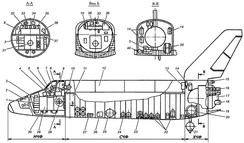
Фюзеляж корабля условно разделяется на 3 отсека: носовой (для экипажа), средний (для полезного груза) и хвостовой.

Нос корпуса конструктивно состоит из носового кока, герметичной кабины и двигательного отсека. Внутреннее пространство кабины разделено полами, которые образуют палубы. Палубы вместе со шпангоутами обеспечивают необходимую прочность кабине. В передней части кабины сверху находятся иллюминаторы.

Кабина разделена на три функциональные части: командный отсек, где размещён основной экипаж; бытовой отсек - для размещения дополнительного экипажа, скафандров, спальных мест, системы обеспечения жизнедеятельности, средств личной гигиены, пяти блоков с аппаратурой системы управления, элементами системы терморегулирования, радиотехнической и телеметрической аппаратурой; агрегатный отсек, обеспечивающий работу систем терморегуляции и жизнеобеспечения.
Для размещения на «Буране» груза предусмотрен вместительный грузовой отсек общим объёмом примерно 350 м3, длиной 18,3 м и диаметром 4,7 м. Сюда поместился бы, например, модуль «Квант» или основной блок станции «Мир», при этом данный отсек позволяет также обслуживать размещённые грузы и осуществлять контроль за работой бортовых систем до самого момента выгрузки из «Бурана».
Общая длина корабля «Буран» 36,4 м, диаметр фюзеляжа 5,6 м, высота на шасси 16,5 м, размах крыла 24 м. Шасси имеет базу 13 м, колею 7 м.

Основной экипаж планировался из 2-4 человек, однако космический корабль может взять на борт дополнительно ещё 6-8 исследователей для проведения на орбите различных работ, то есть «Буран» фактически можно назвать десятиместным аппаратом.
Длительность полета определяется специальной программой, максимальное время установлено до 30 суток. На орбите хорошие маневренные возможности корабля «Буран» обеспечиваются благодаря дополнительным запасам топлива до 14 тонн, номинальный топливный запас 7,5 тонн. Объединенная двигательная установка аппарата «Буран» представляет собой сложную систему, включающую 48 двигателей: 2 двигателя орбитального маневрирования для довыведения аппарата на орбиту с тягой по 8,8 тонн, 38 реактивных двигателей управления движением с тягой 390 кг и ещё 8 двигателей для прецизионных перемещений (точной ориентации) с тягой по 20 кг. Все эти двигатели питаются из единых баков углеводородным горючим «циклином» и жидким кислородом.

В хвостовом отсеке «Бурана» располагаются двигатели орбитального маневрирования, а в блоках носового и хвостового отсеков находятся двигатели управления. В ранних проектах также предусматривались два воздушно-реактивных двигателя с тягой по 8 тонн для возможности полета с глубоким боковым маневром в режиме посадки. Эти двигатели не вошли в более поздние конструкции корабля.
Двигатели «Бурана» дают возможность выполнять следующие основные операции: стабилизация комплекса «Энергия-Буран» перед его разделением со второй ступенью, отделение и увод корабля «Бурана» от ракеты-носителя, довывод его на начальную орбиту, формирование и коррекция рабочей орбиты, ориентация и стабилизация, межорбитальные переходы, сближение и стыковка с другими космическими аппаратами, уход с орбиты и торможение, управление положением аппарата относительно его центра масс и др.


На всех стадиях полёта «Бураном» управляет электронный мозг корабля, он также управляет работой всех ботовых систем и обеспечивает навигацию. На участке довыведения контролирует выход на опорную орбиту. При орбитальном полете обеспечивает коррекцию орбиты, сход с орбиты и погружение в атмосферу на допустимую высоту с последующим возвратом на рабочую орбиту, программные развороты и ориентацию, межорбитальные переходы, зависание, сближение и стыковку с сотрудничающим объектом, закрутку вокруг любой из трёх осей. При спуске контролирует сход корабля с орбиты, его снижение в атмосфере, необходимые боковые маневры, прибытие на аэродром и посадку.

Основа автоматической системы управления кораблём - быстродействующий вычислительный комплекс, представленный четырьмя взаимозаменяемыми компьютерами. Комплекс способен моментально решать все задачи в рамках своих функций и, в первую очередь, увязывать с программой полёта текущие баллистические параметры корабля. Система автоматического управления «Бурана» настолько совершенна, что при будущих полетах экипаж корабля в этой системе рассматривается лишь как звено, которое дублирует автоматику. В этом было принципиальное отличие советского челнока от американских шаттлов – наш «Буран» мог весь полёт выполнить в автоматическом беспилотном режиме, побывать в космосе, благополучно вернуться на землю и сесть на аэродроме, что наглядно продемонстрировал его единственный полёт в 1988 году. Посадка же американских шаттлов осуществлялась полностью на ручном управлении при неработающих двигателях.
Наша машина была гораздо манёвреннее, сложнее, «умнее» своих американских предшественников и могла автоматически выполнять более широкий спектр функций.

Помимо этого, в «Буране» была разработана система экстренного спасения экипажа при чрезвычайных ситуациях. На небольших высотах для этого предназначалась катапульта для первых двух пилотов; при возникновении аварийной ситуации на достаточной высоте корабль мог отсоединяться от ракеты-носителя и производить экстренную посадку.
Впервые в ракетостроении на космическом аппарате была использована система диагностики, охватывающая все системы корабля, подключающая резервные комплекты оборудования или осуществляющая переход на резервный режим работы в случае возможных неисправностей.

Аппарат рассчитан на 100 полётов как в автономном, так и в пилотируемом режимах.
Настоящее
Крылатый космический корабль «Буран» мирного применения не нашёл, поскольку программа сама по себе была оборонной и в мирную экономику, тем более после распада СССР, интегрироваться не смогла.

Тем не менее, это был большой технологический прорыв, на «Буране» отработаны десятки новых технологий и новых материалов, и жаль, что эти достижения не стали применять и развивать далее.
Где теперь находятся знаменитые в прошлом «Бураны», над которыми работали лучшие умы, тысячи рабочих и на которые было потрачено так много усилий и возлагалось столько надежд?

Всего существовало пять экземпляров крылатого корабля «Буран», в том числе недостроенные и начатые аппараты.
1.01 «Буран» - осуществил единственный беспилотный космический полет. Хранился на космодроме Байконур в монтажно-испытательном корпусе. На момент уничтожения при обрушении крыши в мае 2002 года был собственностью Казахстана.
1.02 – корабль был предназначен для второго полёта в режиме автопилота и стыковки с космической станцией «Мир». Находится также в собственности Казахстана и установлен в музее космодрома Байконур в качестве экспоната.
2.01 – готовность корабля составляла 30 - 50 %. Он находился на Тушинском машиностроительном заводе до 2004 года, затем провёл 7 лет на причале Химкинского водохранилища. И, наконец, в 2011 году переправлен для реставрации на аэродром г. Жуковский.
2.02 - 10-20 % готовности. Частично демонтирован на стапелях Тушинского завода.
2.03 - задел был полностью уничтожен.
Возможные перспективы
Проект «Энергия-Буран» закрыли в том числе из-за ненадобности доставки больших грузов на орбиту, а также их возвращения. Строящийся скорее для оборонных, нежели мирных целей, в эпоху «звёздных войн», отечественный космический челнок «Буран» намного опередил своё время.
Кто знает, возможно, его время ещё придёт.

Когда освоение космоса станет более активным, когда на орбиту и, наоборот, на землю потребуется часто доставлять грузы и пассажиров.
«Кли́пер» — многоцелевой пилотируемый многоразовый космический корабль, проектировавшийся в РКК «Энергия» с 2000 года на смену кораблям серии «Союз».
В 2006 году по результатам конкурса проект был отправлен Роскосмосом формально на доработку, а затем остановлен в связи с прекращением конкурса[1]. В начале 2009 года РКК «Энергия» победила в конкурсе на разработку более универсального корабля ППТС-ПТКНП («Русь»).

И когда конструкторы доработают ту часть программы, которая касается сохранения и относительно благополучного возвращения на землю ступеней ракеты-носителя, т. е. сделают систему вывода на орбиту более удобной, что значительно удешевит и сделает многоразовым не только использование крылатого корабля, но и системы «Энергия-Буран» в целом.