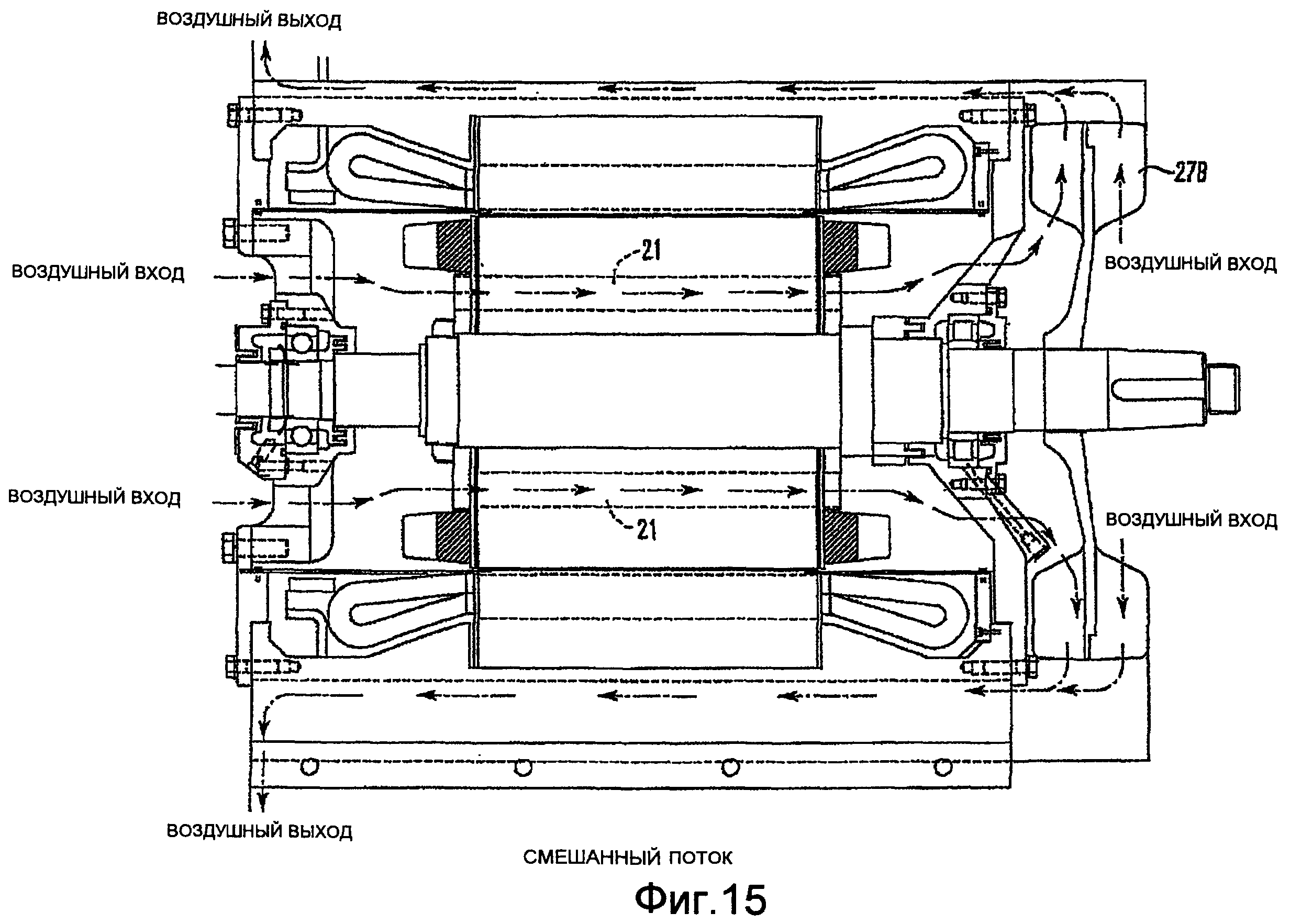
Асинхронный тяговый привод
Тупит автокад
Ак 12 кв
Ap04214 uv
Расписание автобусов 444 москва купавна на сегодня
Болит голова давление в норме температуры
Раствор для ингаляции горла
Таурин инструкция состав
Платная дорога скидки многодетным
Gold pair
Элегант благовещенск
Долгосрочный кредит предоставляемый банками
Синквей к слову язык
На полях собирают урожай
Асинхронный тяговый привод 57 фотографий























































