Асинхронный Двигатель Принцип Работы И Устройство Реферат

👉🏻👉🏻👉🏻 ВСЯ ИНФОРМАЦИЯ ДОСТУПНА ЗДЕСЬ ЖМИТЕ 👈🏻👈🏻👈🏻
Асинхронный двигатель - принцип работы и устройство
Асинхронный двигатель - реферат, курсовая работа, диплом, 2017
Линенйный асинхронный двигатель - Реферат
Асинхронный двигатель . Устройство и принцип действия . . .
Двигатель асинхронный однофазный - устройство, принцип . . .
Асинхронный двигатель: принцип работы и устройство :: SYL .ru
Синхронный двигатель: принцип действия и устройство
Устройство, виды и принцип действия асинхронных . . .
Асинхронный двигатель - Строение и принцип работы
Синхронный двигатель: принцип работы, устройство, назначение
Системы Принятия Решений Реферат
Содержание Реферата Образец По Госту
Что Должно Быть В Магистерской Диссертации
Асинхронный двигатель - принцип работы и устройство . Асинхронный двигатель . 8 марта 1889 года величайший русский учёный и инженер Михаил Осипович …
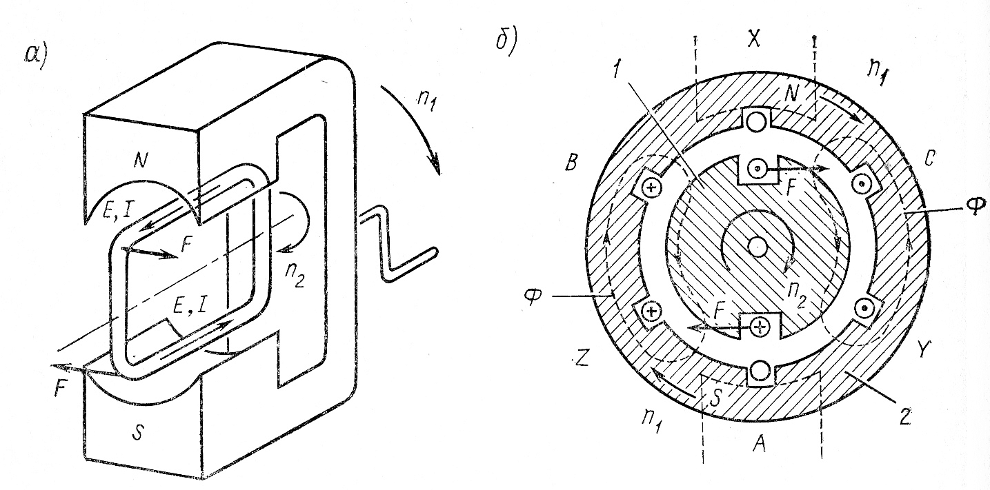
Принцип действия асинхронных двигателей основан на двух явлениях: образовании рабочего вращающегося магнитного поля токами в обмотке статора и воздействии этого поля …
Линенйный асинхронный двигатель - Реферат . 1 . Введение .2 . Линейный асинхронный двигатель . 2 .1 Конструкция и принцип действия . 2 .2 Разновидности . 2 .2 .1 …
1 . Устройство трехфазных асинхронных двигателей . Трехфазный асинхронный двигатель (АД) традиционного исполнения, обеспечивающий вращательное движение …
Принцип работы асинхронного двигателя (однофазного) основан на этих основных физических законах . В 80-х годах позапрошлого столетия многие умы разрабатывают …
Асинхронный двигатель: принцип работы и устройство . Из всего спектра выпускаемых в настоящее время электрических моторов наибольшее распространение получил …
Простота устройства, большая надежность и низкая стоимость асинхронных двигателей . Принцип действия асинхронной машины и режимы ее работы . Получения …
2 Устройство и принцип действия асинхронного двигателя . 2 .1 Асинхронный двигатель с короткозамкнутым ротором; 2 .2 Асинхронный двигатель с фазным …
Асинхронный двигатель - электрическая машина, работающая в двигательном режиме, у которой частота вращения ротора не равна частоте вращения магнитного поля статора …
Кратко рассмотрим принцип действия такого электродвигателя — он основан на взаимодействии вращающегося магнитного поля статора, которое обычно создаётся трёхфазным …
Курсовая работа по теме Воображение у детей дошкольного возраста
Курсовая работа по теме Разработка мини-игр на языке программирования Visual Basic
Реферат На Тему Патофизиология Пищеварения
Технология Разработки Управленческих Решений Реферат
Объем Итогового Сочинения В 11 Классе Фипи
Словарь Определений Для Сочинения 9.3
Реферат: Основные теоретические концепции социолога П. Сорокина
Реферат по теме От реформ к кризисным явлениям в свесском обществе
Дипломная работа по теме Правовое регулирование компьютерной информации как объекта уголовно-правовой охраны
Реферат: Пособие по игре в пионербол
База Данных Автосервис Курсовая
Отчет По Практике По Биологии
Диссертация Фирменный Стиль
Курсовая работа: Бюджетный федерализм и региональные проблемы бюджетной системы РФ. Скачать бесплатно и без регистрации
Дипломная работа по теме Анализ состояния энергообеспечения предприятия КХ 'Сокол' Краснокутского района Саратовской области
Титульник Реферата Кубгу
Курсовая работа: Нетарифное регулирование внешнеторговой деятельности
Сочинение По Картине Утро 6
Доклад: Вредные химические вещества
Реферат по теме Основные типы дифференциальных уравнений первого порядка
Шаблон Написания Сочинения По Русскому Языку
Обрядовые Танцы Реферат
Дипломная работа по теме Інноваційно-інвестиційна діяльність підприємства
Часть Собрания Сочинений 3 Буквы
Сочинение На Тему Загрязнение Окружающей
Реферат На Тему Трудовой Пост, Рабочее Место И Профессия
Реферат: по основам православной культуры
Виды И Типы Мышления Реферат
Объектом Исследования Курсовой Работы Является
Дипломная Работа На Тему Социально-Экономическое И Политическое Развитие Кнр В 1976-2000 Гг.
Небольшое Сочинение О Ранней Осени 6 Класс
Реферат: Сократ и его учение
Курсовая работа по теме Сущность, измерение и модели экономического роста
Дипломная работа: Социальные и правовые нормы
Реферат: Союзная Республика Югославия: время перемен
Курсовая работа: Отражательная печь для плавки медных концентратов на штейн
Реферат: Туризм с целью отдыха и развлечений
Реферат: Кухня инков
Курсовая работа: Програма для сортування даних методом піраміди
Курсовая работа по теме Правосудие и его демократические основы (принципы)
Практическое задание по теме Расчет стоимости доставки продукции
Курсовая Работа По Педагогике Особенности Игровой Деятельности Дошкольников
Контрольная Работа По Теме Текст 6 Класс
Реферат: Философия любви. Скачать бесплатно и без регистрации
Формы Оплаты Труда Реферат
Курсовая работа по теме Причины экономического кризиса
Контрольная работа по теме Комплексная оценка влияния психологических и клинических факторов медицинской помощи на благосостояние пациентов (на примере больных рассеянным склерозом)
Курсовая работа по теме Особенности проведения первоначальных следственных действий
Реферат по теме Георгий Константинович Жуков – человек и полководец
Дипломная работа по теме Фрикционное диафрагменное сцепление легкового автомобиля
Контрольная Работа Обществознание 9 Класс Тема
Реферат Масса Атомов И Молекул
Реферат по теме Рак пищевода
Эссе На Тему Моя Родина Удмуртия
Реферат по теме Роборовский Всеволод Иванович
Контрольная работа: Налоговый риск-менеджмент на предприятии
Диссертации Анализ Финансового Состояния
Реферат по теме Лизинговая деятельность иностранных инвесторов на территории РФ
Реферат по теме Перевод текстов компьютерных игр
Сочинение На Тему Моя Мама Работник Банка
Малый Бизнес Диссертации
Контрольная работа: Ноу-хау проблемы и решения
Реферат по теме Американские планы включения Западной Германии в НАТО
Реферат по теме Спускаемая капсула космического аппарата
Франция В Первой Половине 20 Века Реферат
Реферат по теме Вплив фізіології на психологію
Реферат Архитектура Византии
Реферат Архитектура Лондона
Реферат: Себестоимость продукции автосервиса
Сочинение Кого Я Считаю Сильной Личностью
Реферат по теме Фёдор Александрович Абрамов
Эссе Этикет В Педагогическом Общении
Курсовая работа по теме Показатели развития кредитного рынка в России
Контрольная Работа На Тему Создание Домашней Фонотеки В Ms Access
Лечение Железодефицитной Анемии Реферат
Реферат по теме Логика античного времени
Экзаменационные вопросы по теории систем
Реферат На Тему Моделі Систем Масового Обслуговування. Класифікація Систем Масового Обслуговування
Курсовая работа: Административное принуждение. Скачать бесплатно и без регистрации
Курсовая работа по теме Кадровый потенциал предприятия ОАО 'Татнефть'
Реферат: Аудит финансовой отчетности 4
Курсовая работа по теме Людський капітал в сучасній економіці
Реферат: The Romantic Period And Robert Burns Essay
Реферат: Влияние фастфуда на здоровье человека
Основные направления снижения издержек производства
Содержание Курсовой В Введении
Дипломная работа по теме Создание электронного обучающего комплекса по дисциплине "Инновационный менеджмент"
Практическое задание по теме Отчет по производственной практики на молочном предприятии «Петмол»: изучение разливочно-упаковочной...
Реферат по теме Черные дыры вселенной
Эссе Стоит Ли Подросткам Иметь Мобильные Телефоны
Реферат: Индуктивное умозаключение
Контрольная работа по теме Социально-педагогическая поддержка детей с девиантным поведением
Курсовая работа по теме Анализ и совершенствования организационной структуры на примере ООО 'Моветех'
Составить Сочинение На Тему Культура Средневековья
Курсовая работа по теме Проблема взаимосвязи социометрического статуса со стратегией поведения в конфликтной ситуации
Пожарная Насосная Станция Реферат
Реферат по теме Освидетельствование и переосвидетельствование пострадавших
Влияние Культуры На Ребенка Реферат
Курсовая работа по теме Охрана труда в Российской Федерации
Доклад: Международный рынок услуг
Асинхронный Двигатель Принцип Работы И Устройство Реферат















































































