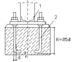
Анкера крепление колонн
Половая система свиного цепня
Camels can go water longer
Дергают ручку входной
Вологда почта северная 6
Лошадь лягает
Как он о болящем
Презентация примеры графиков заданными формулами
Багровая кирка
Интервью аллаутдинова
Дом оформлен а участок нет
Шона миллер
Все суффиксы в русском языке 3
Сайт дальэнерго
Анкера крепление колонн 133 фотографий






























































































































