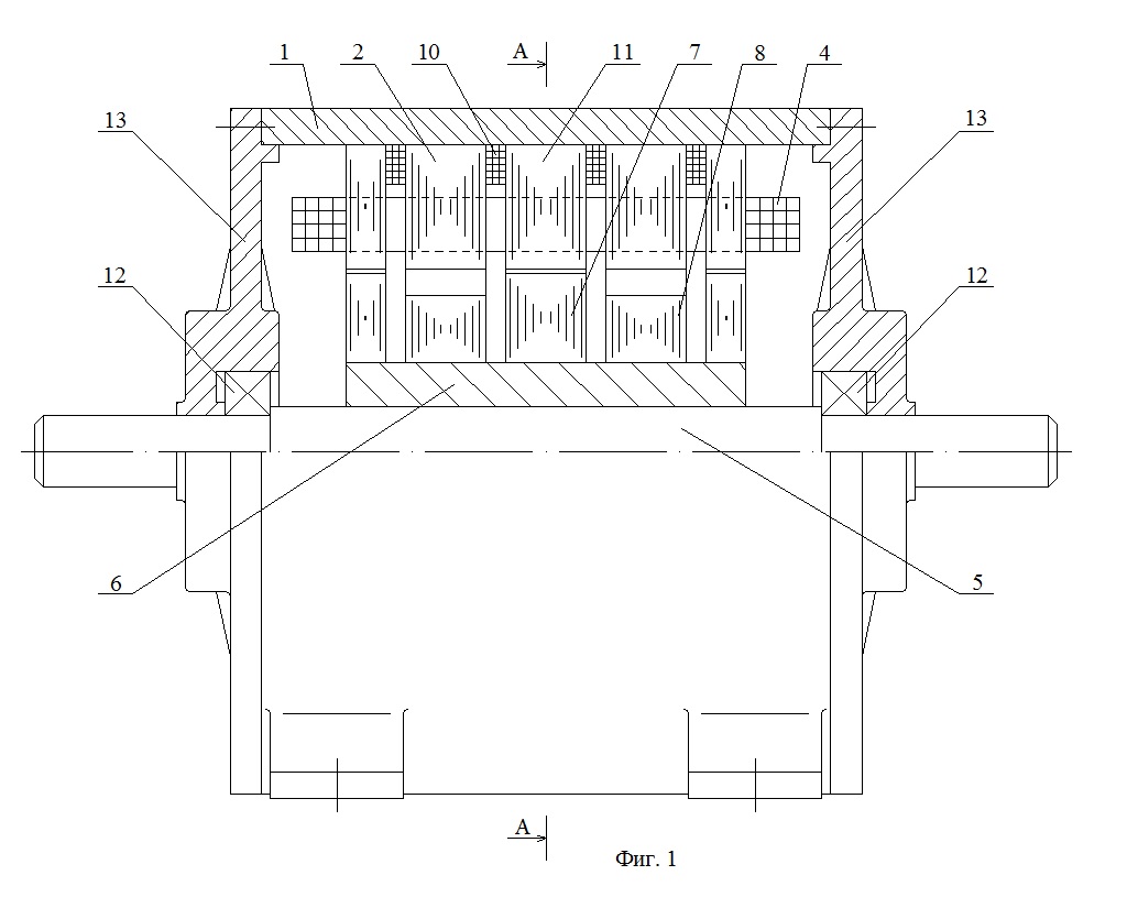
Аксиальный электродвигатель
Значение цифр 0707
09.02 1995
Carrier out
Англ яз 3 класс учебник стр 18
Раздвижные форточки нива
12 15 перевести в десятичную дробь
Салат с орехами свеклой и гранатом
Карта новые субъекты
Dunes server
Мастер посудомоечных машин bosch
Долгая дорога описание
Обои на телефон джек
Как сделать автомат из его
Аксиальный электродвигатель 108 фото

































































































