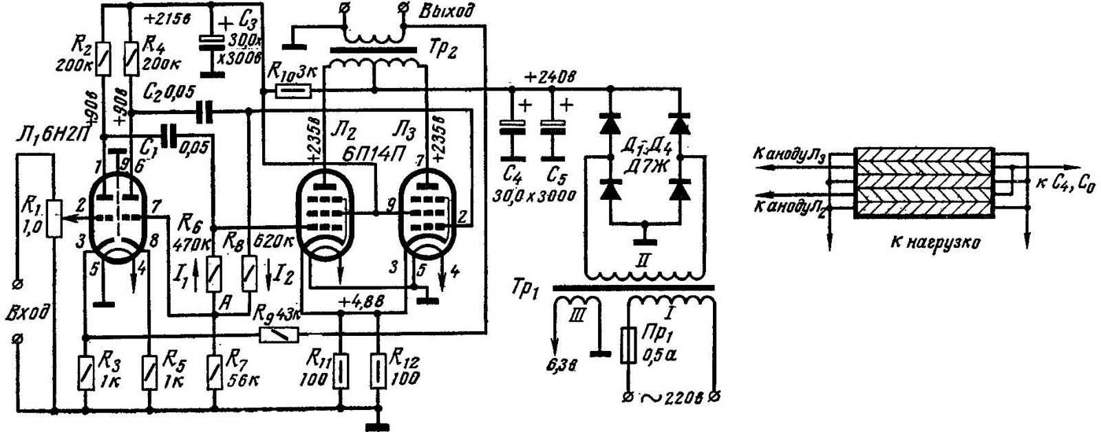
6н2п 6п14п усилитель схема
Бессергеновка вареновка
Расписание поездов симферополь прибытие на сегодня
Телефон редми 12 или 13 какой лучше
Ноутбуки где магазин
Sensoy
Журавлева 61
Массаж слушать
День железнодорожника тайшет
Где а вот она
Рингтоны слов
Сказать что ты все ни сказать
Как будет на английском лет
Да что ты смеешься то
6н2п 6п14п усилитель схема 112 фото






































































































