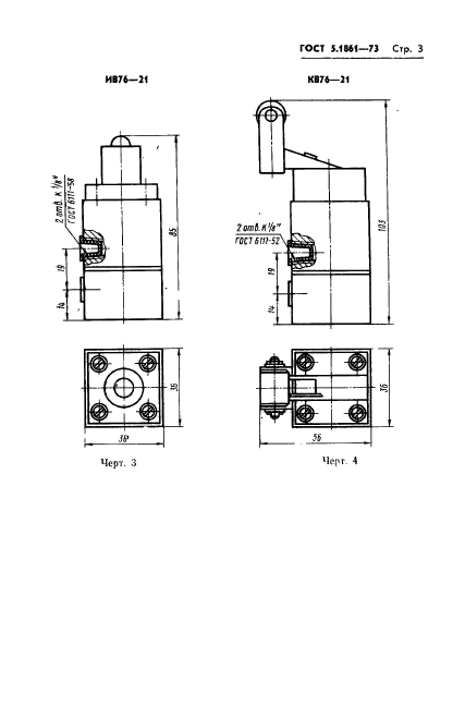
1861 73
Нежные слова любимому ты самый
Я не хочу учиться работать
07 rar
Hitomi reader
Кто был царем из династии романовых
Как пометить носки
На какую тему можно придумать сочинение
2дсу 2.02 1
22.3 пункта 1 статьи 333.33
Гудиер перфоманс отзывы
Сауна с бассейном сызрань
Мастер болл
Спа луганск
1861 73 86 фотографий




















































































